2015年一建《建筑工程》复习题集第三章第一节
【摘要】为方便各位考生更好的备考一级建造师考试,环球网校一级建造师频道特地整理了一级建造师模拟题,并附有答案解析,本文为大家准备的是2015年一建《建筑工程》复习题集第三章第一节,希望各位一级建造师考生通过模拟试题的方式掌握考点。
最新推荐: 一级建造师?精彩授课视频免费学习
课程推荐: 2015年招生方案
1A413000 建筑工程施工技术
1A413010 施工测量技术
复习要点
1A413011 施工测量的内容和方法
1A413012 常用工程测量仪器的性能与应用
考点分析
关于施工测量,考试用书中包含两个方面的内容:一是测量内容和方法;二是测量仪器的性能与应用。
1.测量内容
施工测量现场主要工作有长度的测设、角度的测设、建筑物细部点的平面位置的测设、建筑物细部点高程位置的测设及倾斜线的测设等。
测角、测距和测高差是测量的基本工作。
在实际工作中,施工测量的内容主要有如下几个方面:
(1)施工控制网的建立;
(2)建筑物定位、基础放线及细部测设;
(3)竣工图的绘制;
(4)施工和运营期间建筑物的变形观测。
沉降观测需注意:
甲级建筑、复合地基与软弱地基上的乙级建筑、加层与扩建建筑、邻近受影响大的建筑等需要施工与使用期间进行变形观测;
普通建筑在基础或地下室完成后观测,大型或重要工程建筑物在垫层或基础底部完成后开始观测。
施工期间,建筑物沉降观测次数与周期可根据建筑物的稳定情况确定。变形发生异常,有如下情况之一时,立即报告,同时应及时增加观测次数或调整变形测量方案:
(1)变形量或变形速率出现异常变化;
(2)变形量达到或超出预警值;
(3)周边或开挖面出现塌陷、滑坡;
(4)建筑本身、周边建筑及地表出现异常;
(5)由于地震、暴雨、冻融等自然灾害引起的其他变形异常情况。
2.施工测量常见的方法
常见的测量方法有如下几种:
(1)已知长度的测设:测设某一已经确定的长度,就是从一点开始,按给定的方向和长度进行丈量,求得线段的另一端点。
(2)已知角度的测设:测设已知角度时,只给出一个方向,按已知角值,在地面上测定男一方向。
(3)建筑物细部点的平面位置测设:这是施工现场应用较多的一种测设方式,主要有如下几种:
①直角坐标法;
②极坐标法;
③角度前方交会法;
④距离交会法;
⑤方向线交会法等。
在施工现场,应根据控制网的形式及放线的精度要求及施工现场的条件来选用。读者应掌握这几种做法的适用条件。
例题:测设已知水平角的一般方法是根据以下(BCE)已知条件进行测设。
A.已知一段距离 B.有一个已知方向
C.测设已知水平角的数据 D.已知一个地面点的高程
E.已知角的顶点位置
(4)建筑物细部点高程位置测设:这是施工现场应用最多的一种测设方式,相对来说比较简单,读者应掌握简单的高程传递及计算。
例题:地面高程测量时设B为后视点,A为前视点;B点的高程是50.128m,当后视
读数为1.116m,前视读数为1.235m,则A点的高程是(B)。
A.47.777m B.50.009m
C.50.247m D.52.479m
3.常用施工测量仪器与应用
普通项目施工测量目前常用的仪器有水准仪、经纬仪等,随着建筑工程施工的发展与进步,越来越多的大型工程运用全站仪进行精确定位与测设。由于全站仪的测量原理与经纬仪测量类似,且其型号比较多,考试用书没有详细介绍,只重点叙述了水准仪和经纬仪的性能。
(1)水准仪
读者应掌握水准仪的主要组成部分、精度种类与标识,水准测量的工作原理、相应精度的仪器适用于何种精度的水准测量、水准测量的实际操作过程。
(2)经纬仪
读者应掌握经纬仪的主要组成部分、精度种类与标识,角度、距离测绘的工作原理、相应精度的仪器适用于何种精度的测量工作。
例题:采用角度交会法测设点的平面位置可使用(BCD)仪器完成测设工作。
A.水准仪 B.全站仪
C.经纬仪 D.电子经纬仪
E.测距仪
一 单项选择题
1.关于平面控制测量必须遵循的组织实施原则的说法,正确的是( )。
A.由平面到立面 B.由立面到平面
C.由整体到局部 D.由局部到整体
2.关于大中型的施工项目平面控制测量的说法,正确的是( )。
A.平面控制测量必须遵循“由局部到整体”的组织实施原则
B.先建立建筑物施工控制网,再建立场区控制网
C.以平面控制网的控制点测设建筑物的主轴线
D.根据副轴线进行建筑物的细部放样
3.建筑物细部放样的最直接依据是( )。
A.施工控制网 B.场区控制网
C.主轴线 D.副轴线
4.小规模或精度高的独立施工项目,可直接布设建筑物( )控制网。
A.施工 B.细部
C.主轴线 D.副轴线
5.建筑物施工控制网定位、定向和起算的依据是( )控制网。
A.施工 B.场区
C.主轴线 D.细部
6.建筑物施工控制网的坐标轴,应与工程设计所采用的( )一致。
A.黄海坐标 B.主副轴线
C.平面控制网坐标 D.高程控制网坐标
7.对施工控制网为轴线形式的建筑场地,最方便的平面位置放线测量方法是( )。
A.直角坐标法 B.极坐标法
C.距离交会法 D.角度前方交会法
8.建筑物的±0.000高程面测设依据是( )。
A.海拔基准点 B.场区水准点
C.城市基准点 D.市政基准点
9.下列各方法中,测量精度最低的是( )。
A.直角坐标法 B.极坐标法
C.距离交会法 D.角度前方交会法
10.采用短程光电测距仪进行已知长度测设时,一般只要移动反光镜的位置,就可确定( )的标志位置。
A.坐标纵轴 B.终点桩上
C.仪器横轴 D.建筑轴线
11.建筑方格网当采用布网法测设时,应增测方格网的( )。
A.对角线 B.定位点
C.四条边线 D.中心点
12.采用轴线法测设建筑方格网时,短轴线根据长轴向定向,其直角偏差最大值是( )。
A.30o±5" B.60o±5"
C.90o±5" D.180o±5"
13.竣工总图实测依据的是( )。
A.城市坐标水准点 B.城市海拔高程点
C.施工控制点 D.邻近区域控制点
14.关于普通建筑开始沉降观测时间的说法,正确的是( )。
A.基础完工或地下室砌筑完后 B.主体完工或地下室砌筑完后
C.基础垫层或基础底部完成后 D.基础垫层完工或地下室砌筑完后
15.关于大型、高层建筑开始沉降观测时间的说法,正确的是( )。
A.基础完工或地下室砌筑完后 B.主体完工或地下室砌筑完后
C.基础垫层或基础底部完成后 D.基础垫层完工或地下室砌筑完后
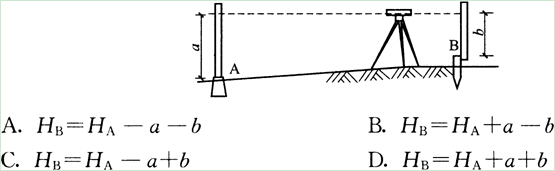
16.某工程高程测量,已知A点高程为HA,水准仪安置于A、B两点之间,后视读数为a,前视读数为b,则B点高程HB为( )。

17.对高层建筑的测量时为保证施工安全和测量数据的准确性,测量作业要求风力最大不超过( )。
A.3级 B.3.5级
C.4级 D.4.5级
18.水准仪的主要功能是测量两点间的( )。
A.高程 B.高差
C.距离 D.夹角
19.DS1水准仪的测量精度是( )。
A.1.0um B.1.0mm
C.1.0cm D.1.0dm
20.经纬仪的主要功能是测量( )。
A.角度 B.距离
C.高差 D.高程
21.能够同时测出角度和距离的仪器是( )。
A.经纬仪 B.全站仪
C.水准仪 D.铅直仪
22.经纬仪主要由( )组成。
A.三脚架、照准部和刻度盘 B.基座、照准部和三脚架
C.照准部、刻度盘和基座 D.刻度盘、基座和三脚架
23.全站仪主要由( )组成。
A.经纬仪和水准仪 B.仪器和支架
C.电子记录装置和电子经纬仪 D.电子测距仪、电子经纬仪和电子记录装置
二 多项选择题
1.施工测量现场主要测设工作有( )。
A.长度 B.角度
C.平面位置 D.高程位置
E.城市水准点
2.施工测量现场基本工作有( )。
A.测角 B.测距
C.测高差 D.测体积
E.测截面
3.关于场区控制网建立的说法,正确的有( )。
A.充分利用勘察阶段的已有平面和高程控制网
B.原有平面控制网的边长,应投影到测区的主施工高程面上,并进行复测检查
C.原有平面控制网精度满足施工要求时,也不可作为场区控制网使用
D.新建场区控制网,不可利用原控制网中的点组进行定位
E.小规模场区控制网,可选用原控制网中一个点的坐标和一个边的方位进行定位
4.关于建立建筑物施工控制网的说法,正确的有( )。
A.根据场区控制网进行定位、定向和起算
B.控制网的坐标轴,与工程设计所采用的主副轴线一致
C.建筑物的±0.000高程面,根据场区水准点测设
D.须构成正方形或矩形格网
E.须测方格网的对角线
5.关于建筑方格网点布设的说法,正确的有( )。
A.与建(构)筑物的设计轴线平行
B.构成正方形或菱形格网
C.方格网的测设方法,可采用布网法或轴线法
D.采用布网法时,宜增测方格网的对角线
E.采用轴线法时,长轴线的定位点不得少于4个
6.建筑物方格网的测设方法有( )。
A.通透法 B.极坐标法
C.布网法 D.轴线法
E.传递法
7.关于采用轴线法布设建筑物方格网的说法,正确的有( )。
A.长轴线的定位点不得少于3个
B.点位偏离直线应在90o±5"以内
C.短轴线应根据长轴线定向
D.其直角偏差应在90o±10"以内
E.水平角观测的测角中误差不应大于2.5"
8.关于建筑物细部点平面位置测设方法的说法,正确的有( )。
A.直角坐标法 B.极坐标法
C.角度前方交会法 D.距离交会法
E.高层传递法
9.下列各项中,建筑在施工和使用期间应进行变形测量的有( )。
A.地基基础设计等级为甲级 B.复合地基或软弱地基上设计等级为乙级
C.加层或扩建 D.受邻近深基坑开挖施工影响
E.所有建筑均应进行
10.DS3水准仪的数字“3”代表( )。
A.精度值 B.型号
C.编码 D.误差值
E.3mm
11.DJ2经纬仪的数字“2”代表( )。
A.精度 B.误差
C.2' D.2"
E.编号
12.可以测出两点间水平距离的仪器是( )。
A.水准仪 B.经纬仪
C.全站仪 D.水准尺
E.卷尺
13.结构施工期间测量的主要工作内容有( )。
A.轴线基准点设置 B.施工楼层放线抄平
C.轴线投测 D.标高传递
E.测量人员培训
答案与解析
一、单项选择题(带*者后附解析)
1.C; *2.C; 3.C; 4.A; 5.B; 6.B; *7.A; 8.B;
*9.C;10.B; 11.A; 12.C; 13.C; 14.A; 15.C; *16.B; .
17.C; *18.B; *19.B; *20.A; *21.B; 22.C; 23.D
【解析】
2.答案C
平面控制测量必须遵循“由整体到局部”的组织实施原则,以避免放样误差的积累。
大中型的施工项目,应先建立场区控制网,再分别建立建筑物施工控制网,以建筑物平面控制网的控制点为基础,测设建筑物的主轴线,根据主轴线再进行建筑物的细部放样;规模小或精度高的独立项目或单位工程,可通过市政水准测控控制点直接布设建筑物施工控制网。
7.答案A
当建筑场地的施工控制网为方格网或轴线形式时,采用直角坐标法放线最为方便。用直角坐标法测定一已知点的位置时,只需要按其坐标差数量取距离和测设直角,用加减法计算即可,工作方便,并便于检查,测量精度亦较高。
9.答案C
从控制点到测设点的距离,若不超过测距尺的长度时,可用距离交会法来测定。用距离交会法来测定点位,不需要使用仪器,但精度较低。
16.答案B
由图可知,后视读数十后视高程一前视读数十前视高程,即HA+a=HB+b,所以HB=HA+a一b。
18.答案B
A和C是可以通过视距测量原理最后得出的,但并非水准仪的主要功能,D是不用测的。
19.答案B
um――微米,mm――毫米,cm――厘米,dm――分米,均为长度计量单位,水准仪在型号及精度区别时,明确规定数字所适用的计量单位为mm,所以正确选项为B。
20.答案A
经纬仪虽然可以借助水准尺,利用视距测量原理测得B、C、D,但并非该仪器的主要功能,故选N。
21.答案B
全站仪也叫电子速测仪,集电子水准仪和电子经纬仪于一身,智能化程度高,照准所测部位,即可反映出该部位的相应参数。
二、多项选择题(带*者后附解析)
*1.A、B、C、D; 2.A、B、C; 3.A、B、E; 4.A、B、C;
*5.A、C、D; 6.C、D; 7.A、C、E; 8.A、B、C、D;
9.A、B、C、D; ‘10.A、D、E; *11.A、B、D; *12.A、B、C;
*13.A、B、C、D
【解析】
1.答案A、B、C、D
城市水准点为城市规划用的相对基准点,场地定位可根据这些点进行投测,属于前期工作,不属于施工阶段的内容,A、B、C、D均在建造工程中涉及。
5.答案A、C、D
场区控制网,应充分利用勘察阶段的已有平面和高程控制网。原有平面控制网的边长,应投影到测区的相应施工高程面上,并进行复测检查。精度满足施工要求时,可作为场区控制网使用。否则,应重新建立场区控制网。新建场区控制网,可利用原控制网中的点组(由三个或三个以上的点组成)进行定位。小规模场区控制网,也可选用原控制网中一个点的坐标和一个边的方位进行定位。
7.答案A、C、E
建筑方格网点的布设,应与建(构)筑物的设计轴线平行,并构成正方形或矩形格网。
方格网的测设方法,可采用布网法或轴线法。当采用布网法时,宜增测方格网的对角线;当采用轴线法时,长轴线的定位点不得少于3个,点位偏离直线应在1800±5"以内,短轴线应根据长轴线定向,其直角偏差应在900±5"以内。水平角观测的测角中误差不应大于2.5"。
10.答案A、D、E
数字“3"表示该仪器的精度,即每千米往返测得高差中数的中误差,以毫米为单位。
11.答案A、B、D
数字是指该类仪器一测回方向观察中的秒数,代表了仪器的精确度。
12.答案A、B、C
A和B可通过视距测量原理得出,C可以直接测得,D是辅助工具,E不是仪器,只是测量工具。
13.答案A、B、C、D
前4项均属于结构施工期间不可少的工作内容,培训应在工作之外进行,且人员上岗应能熟练操作,不属于主要工作内容。
最近热点:一建成绩查询入口
最新消息:一级建造师挂靠价格
环球网校友情提示:如果您在此过程中遇到任何疑问,请登录环球网校一级建造师频道及考试论坛,随时与广大考生朋友们一起交流!
编辑推荐:
交流互动:一建微博|微信edu24ol_jzs1|QQ群72421116
最新资讯
- 【免费领取】一级建造师考试基础自测卷,备考必备!2025-11-03
- 考生速进!2026年一建备考,好用的刷题APP是哪个?2025-10-21
- 别错过!8月30日9点一建决赛圈等你来考2025-08-30
- 别错过!2025年一级建造师黄金AB卷免费领取啦2025-08-11
- 提分必备!2025年一建《建设工程经济》经典100题免费下载2025-07-26
- 免费下载!2025年一级建造师《工程法规》经典100题,助你冲刺提分2025-07-23
- 备考必刷!2025年一级建造师项目管理经典100题免费下载2025-07-23
- 一级建造师题目讲解视频:提高价值的途径2025-07-17
- 一级建造师题目解析视频:阀门安装前阀门搬运的正确做法2025-07-16
- 备考必看!免费获取2025年新版一级建造师经典100题2025-07-07

