2014年二级物流师操作技能案例之计算题讲解1
更新时间:2014-01-10 19:01:08
来源:|0
浏览
收藏
摘要 2014年二级物流师操作技能案例之计算题讲解,由环球网校物流师频道提供,供大家学习参考,详见下文。
二级物流师操作技能案例之计算题讲解
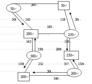
某运输公司有甲、乙、丙、丁四个仓库分别需要发运大米50吨、250吨、200吨和300吨到需求地。需求地有A、B、C、D四个客户,需要量分别为50吨、350吨、200吨和200吨。每吨公里为3元,请确定最优运输方案并计算最低运费。

答案
最低运费=(165×50+118×50+118×200+165×150+317×150+252×150+349×50) ×3=495900(元)

最新资讯
- 2017年物流师三级物流技术的具体内容复习2017-05-03
- 2017年物流师三级商业物流系统的结构与功能复习2017-05-03
- 2017年物流师三级商业物流系统的界定复习2017-05-03
- 2017年物流师三级商业系统物流组织形式与机构复习2017-05-02
- 2017年物流师三级商业物流组织机构发展概况复习2017-05-02
- 2017年物流师三级我国商业企业存在的问题及出路复习2017-05-02
- 2017年物流师三级商品流通环节复习2017-04-27
- 2017年物流师三级商品流通渠道复习2017-04-27
- 2017年物流师三级商业物流信息系统的评价标准复习2017-04-27
- 2017年物流师三级商业物流企业计算机信息系统的建立复习2017-04-25
