一建公路工程老师讲义:18420076 特种没备安全控制要求
【摘要】环球网校一级建造师频道为您提供一级建造师考试必备的复习资料和试题,供考生复习备考之用,本文为一建公路工程老师讲义:18420076 特种没备安全控制要求,是考生必须要熟记和掌握的重点内容。2015年的一级建造师考试将于9月19日至20日举行,环球网校在此提醒广大考生做好复习备考。祝广大考生顺利通过一级建造师考试!
★★★★★特种没备安全控制要求
18420076 特种没备安全控制要求
一、特种设备的概念及安全管理的必要性
特种设备是指那些涉及生命安全、危险性较大的,使用、管理不当容易发生安全事故的设备。按照《特种设备安全监察条例》(国务院2009年第549号)规定:特种设备主要包括锅炉、压力容器(含气瓶,下同)、压力管道、电梯、起重机械、客运索道、大型游乐设施和场(厂)内专用机动车辆。
二、特种设备安全控制要求
特种设备安全管理的范围和一般要求在前面章节已经简单地进行了描述,但特种设备的安全管理除了满足上述一般要求外,还必须明确以下安全控制要点:
(一)按照《特种设备安全监察条例》(国务院2009年第549号)规定:特种设备生产、使用单位的主要负责人应当对本单位特种设备的安全和节能全面负责。
(三)特种设备安全管理制度
1.特种设备安全责任制:
2.特种设备安全规章制度:
3.特种设备安全操作规程:
4.特种设备应急救援预案:
(四)特种设备的行政许可
1、特种设备使用单位应当在设备投入使用前或者投入使用后30d内到设备所在地市以上的特种设备安全监督管理部门办理特种设备使用登记。登记标志应当置于或者附着于该特种设备的显著位置。
2.特种设备行政许可变更。特种设备停用、注销、过户、迁移、重新启用应到特种设备安全监督管理部门办理相关手续。
3.特种设备作业人员必须持证上岗。
(五)特种设备定期检验
1.特种设备报检。
2.特种设备报检要求。起重机械报检时,必须提供保养合同、有效的作业人员证件。
3.特种设备换证。
(六)特种设备安全培训
(七)特种设备使用的相关记录
1.特种设备日常使用状态记录(特种设备运行记录)。
2.特种设备维护保养记录。
3.特种设备检查记录
4.特种设备运行故障和事故记录
5.定期检验整改记录
(八)特种设备档案管理
(八)特种设备现场安全管理
例题
1.特种设备检验合格后,使用单位应携带使用证和( )到有关主管部门办理年审换证手续。
A.购买设备的发票 B.检验合格标志
C.检验报告 D.保养合同 E.保养单位的保养资质
答案:BCDE
2.下列关于遂道施工的安全要点的说法,正确的有( )。
A、爆破后,须通风排烟15分钟人员方可进场
B、机械凿岩时,必须采用干式凿岩机
C、在遂道内熬制沥青时要注意通风
D、爆破员实行“一爆三检”制度
E、洞内运输,车速不得超过10km/h
答案:A D E
3.下列关于公路工程隧道施工安全技术要求中,正确的说法有( )。
A 要根据地质情况决定是否制定应急救援预案,建立应急救援组织
B 爆破器材采用翻斗车运输,严禁作业人员携带进洞
C 机械凿岩时,必须采用湿式凿岩机或带有辅尘器的干式凿岩机
D钻孔台车在洞内的行走速度不得超过25m/min
E 在洞内熬制沥青时,必须保持通风防毒
答案:C D
4.公路工程施工中,遇有六级(含六级)以上大风、浓雾、雷雨等恶劣天气时,不得进行( )作业。
A.露天高处 B.缆索吊装
C.水上 D.搅拌站混凝土制备 E.电力起爆
答案:A B C E
5.关于桥梁人工挖孔桩基础施工的说法,错误的有( )。
A.施工现场必须备有氧气瓶、气体检测仪器
B.施工人员下孔作业前,先向孔内送风换气
C.孔内照明可使用220V电压,但必须采用绝缘可靠的电线
D.孔口周围1m范围内堆土、堆物高度不得超过0.5m
E.发现有地下水等异常情况,必须穿长筒绝缘胶鞋方可在空内继续作业
答案: C D E
6.为确保路面工程施工安全,需详细划分施工区域,施工区域按施工推进方向应先设置( )。
A.缓冲区;B.警告区
C.作业区;D.上游过渡区
答案:B
(一) 背景资料
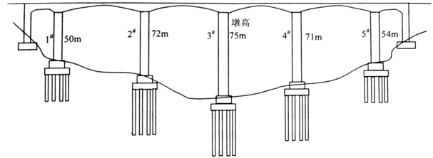
某高速公路特大桥为变截面预应力混凝土连续刚构桥,其桥跨布置为70 m+4×120m+70m。主梁采用箱形截面,墩身为空心墩,墩高50~75m.桥墩采用群桩基础,平均桩长约60m(见示意图)。

施工单位为本桥配置了以下主要施工机械和设备:反循环钻机、混凝土高压泵、混凝土搅拌站、塔吊、载人电梯、悬臂式掘进机、架桥机、预应力张拉成套设备、爬模设备、钢模板、钢护筒、挂篮设备。
3#桥墩在施工到40m高度时,作业人员为了方便施工,自己拆除了部分安全防护设施。另有作业人员携带加工好的部分箍筋乘电梯到墩顶施工。
问题
1、按高处作业的分级要求,该桥2#桥墩施工属于哪一级?患有哪些疾病的人员不适合在本桥墩作业?该桥墩的作业人员应配备哪些个人安防护设施?
2、指出3#墩作业人员的错误做法。
参考答案:
1.(1)属于高处作业4级。(2分)
(2)高血压、心脏病、精神病、恐高症、癫痫病、严重贫血痛、严重关节炎等。
(每条1分,最多3分)
(3)系安全带、戴安全帽、穿软底鞋(3分)
2.高处作业时,如因工作需要对安全防护设施部分移位、部分进行拆除时必须征得项目负责人的同意。(2分)不允许载人电梯搭载货物。(1分)
(二) 背景资料
某南方高速公路A特大桥桥跨布置及结构型式为(3X30+6O+3X1lO+60+3X10)连续箱粱刚构桥。该桥地处山区,主桥采用桩基础,钢筋混凝土桥墩,墩高30~40m,主跨跨采用悬臂浇筑施工。施工单位进场后,经实地考查和核对设计文件,编制了本桥的施工组织设计。在安全技术方面强调按高处作业要求挂设安全网,并设置安全通道扶梯、防护栏杆和安全警示标示牌等。作业平台要求均载,不得超载偏载,挂篮设计采用三角斜拉带式。经项目经理部工程科负责人同意签认后报监理工程师审批,监理工程师认为施工组织设计的报审程序不符合要求,内容存在不足,退回施工单位要求修改,并提出修改意见。
该桥所用的砂、碎石等地材由施工单位通过媒体以公告的方式邀请材料供应商参加竞标,并且按招标和定标两步骤确定供应商。为确保材料质量.工地试验室对供应商送至项目部的砂、碎石进行了取样试验,质量满足要求后确定了地材供应商.
为了进行挠度观测.在箱梁的顶底板布置了测点,测量了立模时的标高。悬臂浇筑施工期间昼夜温差大,梁段混凝土强度满足要求后,作业班组进行预应力张拉.施工监测人员发现梁底高程误差超出了允许范围,经分析排除了以下原因:混凝土的重力密度的变化与截面尺寸的变化:混凝土弹性模量随时间的变化:结构体系转换以及桥墩变位对挠度产生的影响:施工临时荷载对挠度的影响.
问题
1.改正本桥施工组织设计报审程序的不当之处.除背景中提到的安全防护措施外,桥墩顶作业还要采取哪些安全防护措施?说明理由.
参考答案:
1、“经项目经理部工程科负责人同意签认后报监理工程师审批”错误,应由项目经理(施工项目负责人)同意签认后报施工企业技术负责人和监理工程师审批。桥墩顶作业还要在张拉钢筋的两端设置安全挡板;在其顶端装设防撞信号灯,设置可靠的防雷电装置。人员配备安全帽、安全带、防滑鞋、工具袋。
(三)背景资料(10试题)
某高速公路上下行分离式隧道,洞口间距40m,左线长3216m,右线长3100m,隧道最大埋深500m,进出口为浅埋段,Ⅳ级围岩。洞身地质条件复杂,地质报告指出,隧道穿越地层为三叠系底层,岩性主要为炭质泥岩、砂岩、泥岩砂岩互层,且有瓦斯设防段、涌水段和岩爆段, I、Ⅱ、Ⅲ级围岩大致各占1/3,节理裂隙发育,岩层十分破碎,且穿越一组背斜,在其褶曲轴部地带中的炭质泥岩及薄煤层中并存有瓦斯等有害气体,有瓦斯聚集涌出的可能,应对瓦斯重点设防,加强通风、瓦斯监测等工作。
技术员甲认为全断面开挖法的特点是工作空间较小、施工速度快、便于施工组织和管理;且全断面开挖法具有较小的断面进尺比,每次爆破震动强度较小,爆破对围岩的震动次数少,有利于围岩的稳定。考虑到该隧道地质情况与进度要求,所以该隧道应采用全断面开挖。同时针对该隧道采用的新奥法施工,提出了“勤量测、紧封闭”的基本原则。
隧道施工过程中为防止发生塌方冒顶事故,项目部加强了施工监控量测,量测项目有地质和支护状况、锚杆或锚索内力及抗拔力、地表下沉、围岩体内位移、支护及衬砌内应力。项目部还实行安全目标管理,采取了一系列措施,要求进入隧道施工现场的所有人员必须经过专门的安全知识教育,接受安全技术交底;电钻钻眼应检查把手胶套的绝缘是否良好,电钻工应戴棉纱手套,穿绝缘胶鞋;爆破作业人员不能着化纤服装,炸药和雷管分别装在带盖的容器内用汽车一起运送;隧道开挖及衬砌作业地段的照明电器电压为110~220V。同时加强瓦斯等有毒有害气体的防治,通风设施由专职安全员兼管。
隧道施工完成后,进行了供配电、照明系统设施的安装,其中变压器为油浸变压器,由于工期延误,变压器运到现场100天后才进行安装。电缆敷设在沟内时遵循了低压在上、高压在下的原则,敷设时还要求金属支架、导管必须接地(PE)或接零(PEN)可靠。
在交通监控方面,隧道由监控分中心统一监控,监控中心设有完善的子系统,包括交通信号监控系统、视频监控系统、供配电监控系统、隧道照明控制系统、调度指令电话系统、有线广播系统等。
问题
3.指出并改正项目部安全管理措施中的错误。
参考答案:
3、“电钻工应戴棉纱手套”错误,应戴绝缘胶皮手套;
“炸药和雷管分别装在带盖的容器内用汽车一起运送”错误,应改为:炸药和雷管分别装在带盖的容器内用汽车分别运送;
“隧道开挖及衬砌作业地段的照明电器电压为110~220V。”错误,应改为:隧道开挖及衬砌作业地段的照明电器电压为12~36V。
“通风设施由专职安全员兼管”错误,应改为:通风设施由专人管理。

环球网校友情提示:如果您在此过程中遇到任何疑问,请登录环球网校一级建造师频道及考试论坛,随时与广大考生朋友们一起交流!
编辑推荐:
交流互动:一建微博|微信edu24ol_jzs1|QQ群342289995
最新资讯
- 2026年一级建造师建设工程经济新增考点:方案比选定量分析方法的选择2026-01-27
- 2026年一建工程经济教材新增考点:方案的比选2026-01-27
- 2026年一建工程项目管理教材新增考点:全员安全生产责任制基本规定2026-01-27
- 2026年一建建设项目管理教材新增常见的施工坍塌考点2026-01-27
- 2026年一级建造师工程项目管理教材新增考点:施工成本偏差原因2026-01-27
- 2026年一级建造师项目管理教材新增考点:工程施工阶段成本影响因素2026-01-27
- 2026年一建法规新旧教材对比,新增劳动合同期满后的续订情形考点2026-01-27
- 一建工程法规2026年教材新增考点:施工单位的安全责任2026-01-27
- 2026年一级建造师法规及相关知识新增考点:落实消防安全职责的具体要求2026-01-26
- 2026年一建法规教材电子版新增考点:买卖合同2026-01-26