2004年造价工程师案例分析试题
某房屋建筑工程项目,建设单位与施工单位按照《建设工程施工合同(示范文本)》签订了施工承包合同。施工合同中规定:
(1)设备由建设单位采购,施工单位安装;
(2)建设单位原因导致的施工单位人员窝工,按18元/工日补偿,建设单位原因导致的施工单位设备闲置,按表l.1中所列标准补偿;
表1.1 设备闲置补偿标准表
| 机械名称 | 台班单价(元/台班) | 补偿标准 |
| 大型起重机 | 1060 | 台班单价的60% |
| 自卸汽车(5t) | 318 | 台班单价的40% |
| 自卸汽车(8t) | 458 | 台班单价的50% |
(3)施工过程中发生的设计变更,其价款按建标[2003]206号文件的规定以工料单价法计价程序计价(以直接费为计算基础),间接费费率为10%,利润率为5%,税率为3.41%。
该工程在施工过程中发生以下事件:
事件l:施工单位在土方工程填筑时,发现取土区的土壤含水量过大,必须经过晾晒后才能填筑,增加费用30 000元,工期延误l0天。
事件2:基坑开挖深度为3m,施工组织设计中考虑的放坡系数为0.3(已经监理工程师批准)。施工单位为避免坑壁塌方,开挖时加大了放坡系数,使土方开挖量增加,导致费用超支10 000元,工期延误3天。
事件3:施工单位在主体钢结构吊装安装阶段发现钢筋混凝土结构上缺少相应的预埋件,经查实是由于土建施工图纸遗漏该预埋件的错误所致。返工处理后,增加费用20 000元,工期延误8天。
事件4:建设单位采购的设备没有按计划时间到场,施工受到影响,施工单位一台大型起重机、两台自卸汽车(载重5t、8t各一台)闲置5天,工人窝工86工日,工期延误5天。
事件5:某分项工程由于建设单位提出工程使用功能的调整,须进行设计变更。设计变更后,经确认直接工程费增加l8 000元,措施费增加2000元。
上述事件发生后,施工单位及时向建设单位造价工程师提出索赔要求。
问题
1.分析以上各事件中造价工程师是否应该批准施工单位的索赔要求?为什么?
2.对于工程施工中发生的工程变更,造价工程师对变更部分的合同价款应根据什么原则确定?
3.造价工程师应批准的索赔金额是多少元?工程延期是多少天?
试题二(20分)
某建设单位经相关主管部门批准,组织某建设项目全过程总承包(即EPC模式)的公开招标工作。根据实际情况和建设单位要求,该工程工期定为两年,考虑到各种因素的影响,决定该工程在基本方案确定后即开始招标,确定的招标程序如下:
(1)成立该工程招标领导机构;
(2)委托招标代理机构代理招标;
(3)发出投标邀请书;
(4)对报名参加投标者进行资格预审,并将结果通知合格的申请投标人;
(5)向所有获得投标资格的投标人发售招标文件;
(6)召开投标预备会;
(7)招标文件的澄清与修改;
(8)建立评标组织,制定标底和评标、定标办法;
(9)召开开标会议,审查投标书;
(10)组织评标;
(11)与合格的投标者进行质疑澄清;
(12)决定中标单位;
(13)发出中标通知书;
(14)建设单位与中标单位签订承发包合同。
问题:
1.指出上述招标程序中的不妥和不完善之处。
2.该工程共有7家投标人投标,在开标过程中,出现如下情况:
(1)其中1家投标人的投标书没有按照招标文件的要求进行密封和加盖企业法人印章,经招标监督机构认定,该投标作无效投标处理;
(2)其中1家投标人提供的企业法定代表人委托书是复印件,经招标监督机构认定,该投标作无效投标处理;
(3)开标人发现剩余的5家投标人中,有1家的投标报价与标底价格相差较大,经现场商议,也作为无效投标处理。
指明以上处理是否正确,并说明原因。
3.假设该工程有效标书经评标老师的评审,其中A、B、C三家投标单位投标方案的有关参数,如表2.1所示。
| 投标 方案 |
建设期费用支出(万元) | 项目运 营期(年) |
项目运营期的 年运营成本(万元) |
工程报废时的 残值回收(万元) | |
| 第1年末 | 第2年末 | ||||
| A | 250 | 240 | 15 | 25 | 10 |
| B | 300 | 330 | 20 | 10 | 20 |
| C | 240 | 240 | 15 | 15 | 20 |
若基准折现率为10%,且已知A方案寿命期年费用为72.40万元;B方案寿命期年费用为69.93万元。试计算C方案寿命期年费用,并利用年费用指标对三个投标方案的优劣进行排序(小数点后保留两位)。
4.建设单位从建设项目投资控制角度考虑,倾向于采用固定总价合同。固定总价合同具有什么特点?
试题三(25分)
某工程项目由A、B、C、D四个分项工程组成,合同工期为6个月。施工合同规定:
(1)开工前建设单位向施工单位支付l0%的工程预付款,工程预付款在4、5、6月份结算时分月均摊抵扣;
(2)保留金为合同总价的5%,每月从施工单位的工程进度款中扣留l0%,扣完为止;
(3)工程进度款逐月结算,不考虑物价调整;
(4)分项工程累计实际完成工程量超出计划完成工程量的20%时,该分项工程工程量超出部分的结算单价调整系数为0.95.各月计划完成工程量及全费用单价如表3.1所示。
1、2、3月份实际完成的工程量如表3.2所示。

试题四 (20分)
某施工单位编制的某工程网络图,如图4.1所示,网络进度计划原始方案各工作的持续时间和估计费用,如表4.1所示。

| 工作 | 持续时间(天) | 费用(万元) | |||
| A | 12 | 18 | |||
| B | 26 | 40 | |||
| C | 24 | 25 | |||
| D | 6 | 15 | |||
| E | 12 | 40 | |||
| F | 40 | 120 | |||
| G | 8 | 16 | |||
| H | 28 | 37 | |||
| I | 4 | 10 | |||
| J | 32 | 64 | |||
| K | 16 | 16 | |||
问题
1.在答题纸图4.2上,计算网络进度计划原始方案各工作的时间参数,确定网络进度计划原始方案的关键路线和计算工期。
2.若施工合同规定:工程工期93天,工期每提前一天奖励施工单位3万元,每延期一天对施工单位罚款5万元。计算按网络进度计划原始方案实施时的综合费用。
3.若该网络进度计划各工作的可压缩时间及压缩单位时间增加的费用,如表4.2所示。确定该网络进度计划的最低综合费用和相应的关键路线,并计算调整优化后的总工期(要求写出调整优化过程)。
| 工作 | 可压缩时间(天) | 压缩单位时问增加的费用(万元/天) | |||
| A | 2 | 2 | |||
| B | 2 | 4 | |||
| C | 2 | 3.5 | |||
| D | O | / | |||
| E | 1 | 2 | |||
| F | 5 | 2 | |||
| G | 1 | 2 | |||
| H | 2 | 1.5 | |||
| I | 0 | / | |||
| J | 2 | 6 | |||
| K | 2 | 2 |
试题五(25分)
某地区2004年初拟建一工业项目,有关资料如下:
1.经估算国产设备购置费为2000万元(人民币)。进口设备FOB价为2500万元(人民币),到岸价(货价、海运费、运输保险费)为3020万元(人民币),进口设备国内运杂费为100万元。
2.本地区已建类似工程项目中建筑工程费用(土建、装饰)为设备投资的23%,2001年已建类似工程建筑工程造价资料及2004年初价格信息,如表5.1所示,建筑工程综合费率为24.74%。设备安装费用为设备投资的9%,其他费用为设备投资的8%,由于时间因素引起变化的综合调整系数分别为0.98和1.16. 3.基本预备费率按8%考虑。
表5.1 2001年已建类似工程建筑工程造价资料及2004年初价格信息表
| 名称 | 单位 | 数量 | 2001年预算单价 (元) | 2004年初预算单价 (元) |
| 人工 | 工日 | 24 000 | 28 | 32 |
| 钢材 | t | 440 | 2410 | 4100 |
| 木材 | m3 | 120 | 125l | 1250 |
| 水泥 | t | 850 | 352 | 383 |
|
名称 |
单位 |
合价 |
调整系数 |
|
其他材料费 |
万元 |
198.50 |
1.10 |
|
机械台班费 |
万元 |
66.00 |
1.06 |
问题
1.按照答题纸表5.2的给定数据和要求,计算进口设备购置费用。
2.计算拟建项目设备投资费用。
3.试计算:
(1)已建类似工程建筑工程直接工程费、建筑工程费用。
(2)已建类似工程建筑工程中的人工费、材料费、机械台班费分别占建筑工程费用的百分比(保留小数点后两位)。
(3)2004年拟建项目的建筑工程综合调整系数(保留小数点后两位)。
4.估算拟建项目工程建设静态投资。
试题六(30分)
本试题分三个专业(I.土建工程、Ⅱ。工业管道安装工程、Ⅲ。电气安装工程),请任选其中一题作答。若选作多题,按所答的第一题(卷面顺序)计分。
1.土建工程
某工程柱下独立基础见图6.1,共l8个。已知:土壤类别为三类土;混凝土现场搅拌,混凝土强度等级:基础垫层Cl0,独立基础及独立柱C20;弃土运距200m;基础回填土夯填;土方挖、填计算均按天然密实土。
问题
1.根据图示内容和《建设工程工程量清单计价规范》的规定,根据表6.1所列清单项目编制±0.00以下的分部分项工程量清单,并将计算过程及结果填入答题纸表6.1.1“分部分项工程量清单”。有关分部分项工程量清单统一项目编码见表6.1:
表6.1 分部分项工程量清单的统一项目编码表
| 项目编码 | 项目名称 | 项目编码 | 项目名称 |
| 010101003 | 挖基础土方 | 010402001 | 矩形柱 |
| 010401002 | 独立基础 | 010103001 | 土方回填(基础) |
2.某承包商拟投标该工程,根据地质资料,确定柱基础为人工放坡开挖,工作面每边增加0.3m;自垫层上表面开始放坡,放坡系数为0.33;基坑边可堆土490m3;余土用翻斗车外运200m.该承包商使用的消耗量定额如下:挖1m3土方,用工0.48工日(已包括基底钎探用工);装运(外运200m)1m3土方,用工0.10工日,翻斗车0.069台班。已知:翻斗车台班单价为63.81元/台班,人工单价为22元/工日。 计算承包商挖独立基础土方的人工费、材料费、机械费合价。
3.假定管理费率为l2%;利润率为7%,风险系数为l%。按《建设工程工程量清单计价规范》有关规定,计算承包商填报的挖独立基础土方工程量清单的综合单价。(风险费以工料机和管理费之和为基数计算)
(注:问题2、3的计算结果要带计量单位。)


Ⅱ.工业管道安装工程
某一化工生产装置中部分热交换工艺管道系统,如图6.Ⅱ所示。
计算该管道系统工程相关费用的条件为:
分部分项工程量清单项目费用合计1770万元,其中人工费l5万元。管理费、利润分别按人工费的50%、60%计。
脚手架搭拆的工料机费用按分部分项工程人工费的7%计,其中人工费占25%;大型机械进出场耗用人工费l万元,材料费3万元,机械费4.9万元;安全、文明施工等措施项目费用总额为40万元。
其他项目清单费用l00万元;规费80万元。
税金按3.41%计。
问题
1.根据图示内容和《建设工程工程量清单计价规范》的规定,编制分部分项工程量清单(不含法兰有关分项),并将计算过程及结果填入答题纸表6.Ⅱ.1“分部分项工程量清单表”。要求编制的分部分项工程量清单统一项目编码见表6.Ⅱ:
表6.Ⅱ 分部分项工程量清单统一项目编码
| 项目编码 | 项目名称 | 项目编码 | 项目名称 |
| 030602002 03060500l 030615001 |
中压碳钢管 中压碳钢管件 管架制作安装 |
030608002 030608003 0306l6005 |
中压法兰阀门 中压齿轮、液压传动、电动阀门 焊缝超声波探伤 |
2.依据上述条件计算单位工程费用,填入答题纸表6.Ⅱ.2“单位工程费用汇总表”。并在表下面列出措施项目清单费用和税金的计算过程(计算式)。(保留两位小数)

说明
1.某一化工厂生产装置中的部分热交换工艺管道系统如图所示,图中标注尺寸标高以m计,其他均以mm计。该管道系统工作压力为2.0MPa. 2.管道:采用20#碳钢无缝钢管,管件:弯头采用成品冲压弯头,三通、四通现场挖眼连接,异径管现场摔制。
3.阀门、法兰:所有法兰为碳钢对焊法兰;阀门型号除图中说明外,均为J41H-25,采用对焊法兰连接;系统连接全部为电弧焊。
4.管道支架为普通支架,其中:Φ219×6管支架共l2处,每处25kg,Φl59×6管支架共l0处,每处20ks.支架手工除锈后刷防锈漆、调和漆两遍。
S.管道安装完毕做水压试验,对管道焊口按50%的比例做超声波探伤,其焊口总数为:Φ219×6管道焊口l2个Φl59×6管道焊口24个。
6.管道安装就位后。所有管道外壁手工除锈后均刷防锈漆两遍,采用岩棉管壳(厚度为60mm)做绝热层。外包铝箔保护层。
Ⅲ.电器安装工程
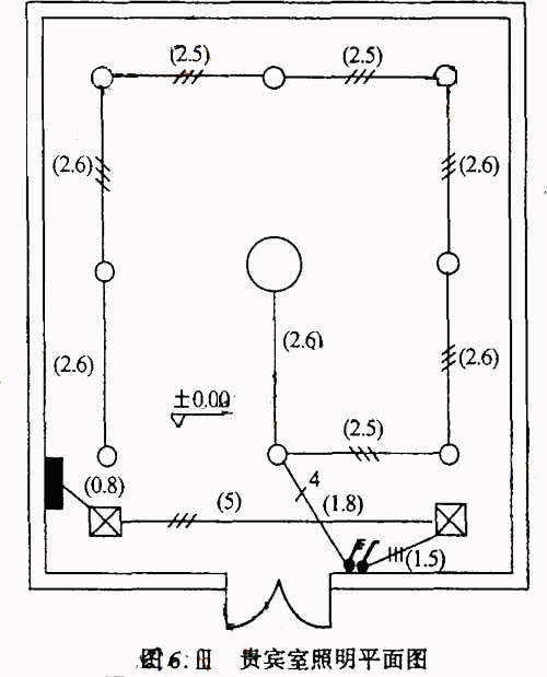
某贵宾室照明系统中一回路如图6. Ⅲ所示。
表6. Ⅲ中数据为计算该照明工程的相关费用:
表6.3Ⅲ 照明工程各项目的相关费用
| 序号 | 项目名称 | 计量单位 | 安装费(元) | 主材 | |||||
| 人工费 | 材料费 | 机械使用费 | 管理费 | 利润 | |||||
| 单价(元) | 消耗量 | ||||||||
| l | 镀锌钢管蜘沿砖、混凝土结构暗配 | m | 1.98 | 0.58 | 0.20 | 0.71 | 0.59 | 4.50 | 1.03 |
| 2 | 管内穿阻燃绝缘导线ZRBV-1.5mm2 | m | 0.30 | 0.18 | 0 | 0.1l | 0.09 | 1.20 | 1.16 |
| 3 | 接线盒暗装 | 个 | 1.20 | 2.20 | 0 | 0.43 | 0.36 | 2.40 | 1.02 |
| 4 | 开关盒暗装 | 个 | 1.20 | 2.20 | 0 | 0.43 | 0.36 | 2.40 | 1.02 |
问题
1.根据图示内容、《建设工程工程量清单计价规范》的规定及答题纸表6.Ⅲ。1给定的项目统一编码编制分部分项工程量清单,并将计算过程及结果填入答题纸表6.Ⅲ。1“分部分项工程量清单”。
2.依据上述相关费用数据计算镀锌钢管敷设项目和管内穿线项目的工程量清单综合单价,并分别填入答题纸表6.Ⅲ。2和6.Ill.3“分部分项工程量清单综合单价计算表”。


最新资讯
- 更新版:2025年一级造价师案例考试真题及答案(1-3题)2025-10-27
- 速领!2025年一级造价师各科目考试真题及答案【完整版】2025-10-26
- 2025年一级造价师《案例分析》真题解析(试题三)2025-10-25
- 2025年一级造价师《安装计量》真题答案61-70题2025-10-23
- 2025年一级造价师《安装计量》真题答案41-50题2025-10-23
- 2025年一级造价师《安装计量》真题及答案31-40题2025-10-23
- 2025年一级造价师《安装计量》真题答案21-30题2025-10-23
- 2025年一级造价师《案例分析》考试真题及答案(试题一)2025-10-23
- 2025年一级造价师案例真题及答案试题五(土建专业)2025-10-22
- 2025年一级造价师《土建计量》考试真题答案51-60题2025-10-22