岩土师考试基础知识重点:流体动力学基础3
更新时间:2013-07-30 10:36:50
来源:|0
浏览
收藏
注册土木工程师(岩土)报名、考试、查分时间 免费短信提醒
摘要 岩土师考试基础知识重点:流体动力学基础
三、恒定总流能量方程
(一)元流能量方程

(二)渐变流断面上的压强分布
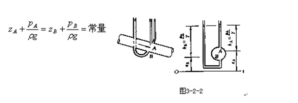
为将元流的能量方程推广到总流,需利用渐变流的特点。前面流体运动的分类已提到,渐变流中各流线的曲率很小,而且流线间的夹角也很小。也就是说,渐变流中任一点的流速的大小和方向沿流线的变化很小。因此,可以不考虑惯性力,同一过流断面上各点间的压差由重力引起,断面上压强分布与静压强分布规律相同――直线分布即
式中下标A、B表示同一断面上的不同位置的点,如图3-2-2。

编辑推荐:
编辑推荐
最新资讯
- 1元领取!2026注册土木工程师(岩土)知识点集锦课程2026-03-31
- 2025年注册土木工程师(岩土)考试《专业知识》科目重点考点2025-10-17
- 2025年注册土木工程师(岩土)基础知识考点复习2025-10-17
- 2025年岩土工程师基础知识点:地面沉降2025-09-10
- 2025年岩土工程师《基础知识》考点:基坑围护设计2025-09-01
- 2025年岩土工程师《基础知识》考点:监测点要求2025-08-22
- 2025年岩土工程师《基础知识》考点:砌体工程2025-08-11
- 2023年注册岩土工程师基础考试资料2024-09-20
- 2024年度全国注册土木工程师(岩土)专业考试所使用的标准和法律法规2024-08-12
- 注册岩土工程师备考要趁早 双11好课限时优惠!直播间更有返现抽奖~2023-10-31