2010年结构工程师备考:例题(15)方法一
更新时间:2010-06-22 09:11:09
来源:|0
浏览
收藏
结构工程师报名、考试、查分时间 免费短信提醒
(六)例题
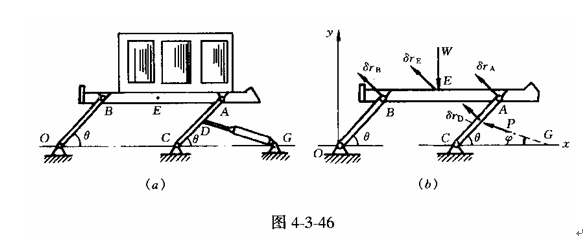
[例4-3-16] 在升降台上放有重为W的货箱,如图4—3—46(a)所示,设各杆都用光滑铰链连接,升降台和各杆重量不计,W=10kN,OB=AC,AB=OC,AD=DC=b=0.6m,CG=L=2.5m,图示位置时,0=45°。求在图示位置时液压筒DG的推力。

[解] 本题是求主动力P、W之间的关系。现用两种方法求解。
[方法一] 几何法
(1)对象 取不包括液压筒的系统为研究对象。
(2)受力分析 不解除理想约束,只分析主动力,受力图如图4-3-46(b)所示。其中P为液压筒的推力。
(3)分析各构件的运动,并作出系统的虚位移图。因为升降台BA作平动,所以B、E、A点的虚位移相等,即δrB=δrE=δrA。设D点的虚位移为δrD,其大小δrD=0.5δrA。各点虚位移如图4—3—46(b)所示。
(4)列方程,并求解。列虚功方程
![]()
将δrD=0.5δrA=0.5δrE代人,得
![]()
因为δrE可取任意值,是独立的,故δrE≠0,则有
![]()
或

根据几何关系,有

将已知数字代入,得

于是

2010年注册结构工程师考试报名时间信息汇总
结构工程师基础科目(一)考试普通化学练习题汇总
2010年结构师考试9月18、19日
更多信息请访问:结构工程师频道 结构工程师论坛
编辑推荐
最新资讯
- 2025年一级注册结构工程师考前实战试题解析:突破考试瓶颈的终极指南‌2025-10-13
- 2025年一级注册结构工程师常考知识点2025-02-17
- 2025年二级注册结构工程师高频知识点2025-02-17
- 2024年度二级注册结构工程师专业考试资料:规范、标准、规程2024-08-13
- 2024年度一级注册结构工程师专业考试资料:规范、标准、规程2024-08-13
- 环球网校双11预售开启!定金百倍膨胀,直播再返现金2023-10-25
- 环球网校结构工程师双11活动来啦,限时优惠!2023-10-25
- 注册结构工程师考试大纲下载2023-05-16
- 2023年一级注册结构工程师考试大纲内容2023-04-14
- 2023年结构工程师教材内容变动对比2023-04-10