土建工程实务辅导:结构施工图5
更新时间:2009-10-19 15:27:29
来源:|0
浏览
收藏
二级造价工程师报名、考试、查分时间 免费短信提醒
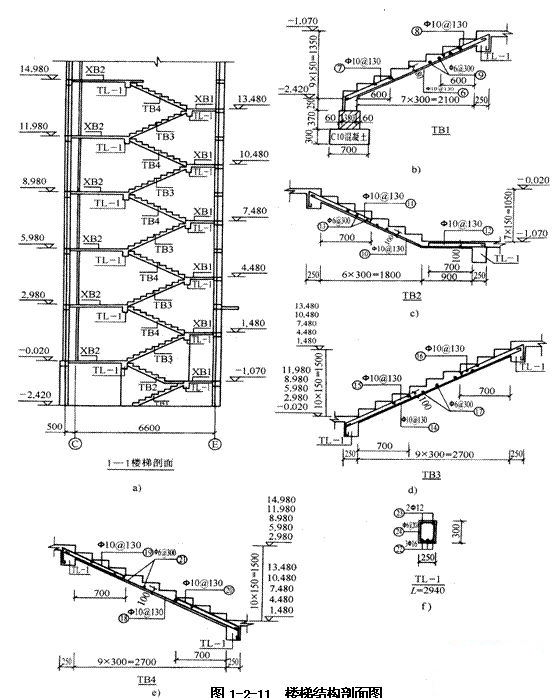
(二)图1-2-11是某住宅楼梯剖视图
图1-2-11a所示是l―l楼梯剖面,主要表示了TB、TL、XB在竖向的位置、标高,结构情况。由图中看出TBl、TB2各一块,TB3、TB4各5块。TL1 12根,各构件在空间的位置一目了然。图1-2-11b、图1-2-11c、图1-2-11d、图1-2-11e分别为TBl、TB2、TB3、TB4的剖画图;图1-2-11f为平台梁TL―l的剖面图。从图1-2-11b可以看出,从地下室-2.420m到-1.070m共有9步,每步高150mm;踏步板厚80mm并与平台梁TL-l直接相连,梯板中的配筋⑥φ10@130为纵向受力筋,布置在板底;⑨号分布筋横向布在受力筋上面,⑦⑧号为构造筋,布置在板两端的上方,两端深入平台梁内。TB2、TB3、TB4的构造形式与TBl基本相同,不同之处是踏步板厚改为100mm,TB2为折板。图1-2-11f为平台梁TL―l断面图,梁宽250mm,梁高300mm,长2940mm,左右两侧分别与踏步板、平台梁相连,它的标高见1―1楼梯剖面图,梁中受力筋22为3φ16,架力筋23为2φ12,箍筋φ6@200。

?2008年全国建设工程造价员资格考试大纲![]()
?2009年造价员考前网上辅导招生简章
编辑推荐
上一篇:土建工程实务辅导:结构施工图4
下一篇:土建工程实务辅导:结构施工图6
最新资讯
- 2026年二级造价工程师考试大纲:考试说明、考试科目、考试题型、考试目的及考试内容2026-01-08
- 2026年二级造价工程师《建设工程计量与计价实务》考试大纲内容:土木建筑工程2026-01-07
- 2026年二级造价工程师《建设工程造价管理基础知识》考试大纲要求及内容2026-01-07
- 2026年度全国二级造价工程师职业资格考试大纲2026-01-06
- 考前速记!2025年甘肃省二级造价师考试《造价管理》公式汇总2025-12-01
- 考前5天!2025年安徽省二级造价工程师考前3页纸,抓紧背起来2025-12-01
- 2025年甘肃二级造价师考前3页纸~免费下载2025-11-30
- 免费下载!2025年安徽二级造价师备考资料包2025-11-21
- 2025年甘肃二级造价师备考资料:必备十页纸+练习题2025-11-21
- 免费下载!2025年新疆二级造价师考前3页纸2025-11-04