土建工程实务辅导:结构施工图4
更新时间:2009-10-19 15:27:29
来源:|0
浏览
收藏
二级造价工程师报名、考试、查分时间 免费短信提醒
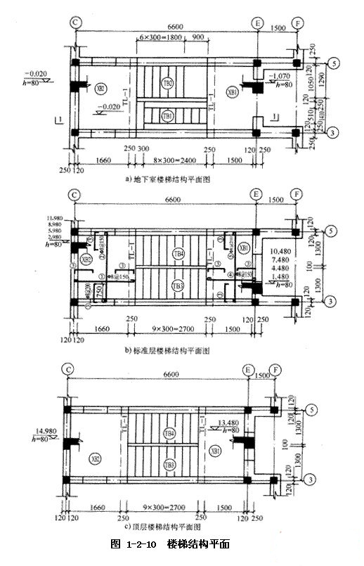
三、楼梯结构图
楼梯结构施工图包括楼梯结构平面图和楼梯结构剖面图。来源造价100分网站/.
楼梯结构平面图主要表示楼梯类型、尺寸、结构及梯段在水平投影的位置、编号、休息平台板配筋和标高等。
楼梯结构剖面图主要表示各楼梯段、休息平台板的立面投影位置、标高、楼梯板配筋详图。读图举例:图1-2-10、图1-2-11是某住宅楼梯结构图。
(一)图1-2-10为楼梯结构平面图
从图中看出楼梯位于C~E与③~⑤轴线间,从地下室上到第一休息平台(标高-1.070m)共有9级踏步,每步宽300mm;TBl、TB2分别是踏步板l、踏步板2的编号,从图1-2-10a中看到TBl、TB2的长为2400mm,宽分别为1100mm,1170mm,其中TBl只在中间510mm范围内有踏步,两边为斜平板。TLl表示支撑楼梯平台板的平台梁。XBl、XB2表示两个休息平台板,其标高分别为-1.070m,-0.020m,板厚h=80mm。在图1-2-10b中画出了平台板XBl、XB2的配筋情况。

?2008年全国建设工程造价员资格考试大纲![]()
?2009年造价员考前网上辅导招生简章
编辑推荐
上一篇:土建工程实务辅导:结构施工图3
下一篇:土建工程实务辅导:结构施工图5
最新资讯
- 2026年二级造价工程师考试大纲:考试说明、考试科目、考试题型、考试目的及考试内容2026-01-08
- 2026年二级造价工程师《建设工程计量与计价实务》考试大纲内容:土木建筑工程2026-01-07
- 2026年二级造价工程师《建设工程造价管理基础知识》考试大纲要求及内容2026-01-07
- 2026年度全国二级造价工程师职业资格考试大纲2026-01-06
- 考前速记!2025年甘肃省二级造价师考试《造价管理》公式汇总2025-12-01
- 考前5天!2025年安徽省二级造价工程师考前3页纸,抓紧背起来2025-12-01
- 2025年甘肃二级造价师考前3页纸~免费下载2025-11-30
- 免费下载!2025年安徽二级造价师备考资料包2025-11-21
- 2025年甘肃二级造价师备考资料:必备十页纸+练习题2025-11-21
- 免费下载!2025年新疆二级造价师考前3页纸2025-11-04