2013年国家公务员面试公告:福建省气象局
2013年国家公务员面试公告:福建省气象局
根据国家公务员局关于中央机关2013年考试录用公务员工作的有关规定,现将我局公务员录用面试的有关事项通知如下:
一、面试职位及分数线

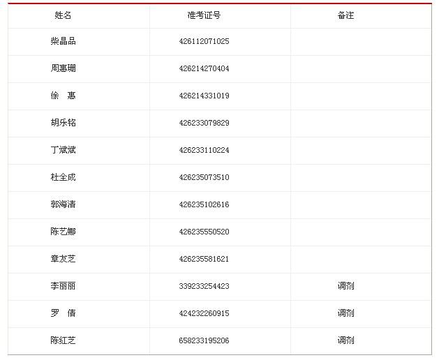
二、进入面试人员名单

三、面试确认
请上述考生于2月23日17:00前将本人有关情况通过E-mail发送到rensc0816@163.com,标题格式为:“准考证号+姓名+确认参加面试”;内容中请填写以下信息:身份证号、准考证号、笔试成绩、报考职位、学历、学位、毕业院校及专业、基层工作经历及年限、目前所在学校或单位(包括职务)、联系电话(手机、固定电话)等,以及本人需要说明的其他问题。
届时如未确认的,以自动放弃处理,不再进入面试程序。
四、面试日期、地点及要求
1.面试时间:2月27日,上午9:00开始,请考生8点30分前到面试地点报到,进行考生资格复查。截止当天上午8:50没有进入候考室的考生,取消面试资格。
2.面试地点:福建省气候中心会议室
报到地点:福建省气候中心一楼大厅
地址:福建省福州市乌山路108号
交通路线:乘坐27、105、109、86、K3、106、16路公交车到乌山路下。
3.报到所需材料:
应届毕业生提交下列证件和材料:(1)本人身份证、学生证、准考证、所在学校盖章的报名推荐表、贴照考生报名登记表;(2)近期免冠1寸彩色照片3张。
社会在职人员须提交下列证件和材料:(1)本人身份证、工作证、准考证、贴照考生报名登记表;(2)学历学位证书;(3)近期免冠1寸彩色照片3张;(4)所在单位出具的同意报考证明。
上述材料均需要原件,除报名登记表、报名推荐表和单位同意报考证明以外,还需复印件各一份。
4.考生应对个人提供材料的真实性负责。凡不符合报考资格条件或者有关材料的主要信息不实的,将取消面试资格。
5.面试考生不得携带通讯设备进入候考地点和考场,已携带的交由工作人员统一保管。
五、体检和考察人选产生的原则和办法
1.体检人选产生的原则和办法:根据参加体检人数与录用计划数为2:1的比例,按最终综合成绩(笔试、面试成绩各占50%)从高到低确定进入体检程序人员(如果某职位参加面试人数少于录用计划2倍时,考生面试成绩应达到70分,方可进入体检)。
2.考察人选产生的原则和办法:在体检合格的人员中,根据进入考察程序人数与录用计划数为1:1的比例,按最终综合成绩从高到低确定进入考察程序人员。
六、体检安排
体检时间:2013年2月28日
体检注意事项:请参加体检的考生空腹于2月28日上午8:30在福建省气象局大门口集中,统一前往体检医院。体检时需携带身份证原件,对于在体检过程中,弄虚作假或者隐瞒真实情况致使体检结果失真的体检者,不予录用或取消录用。
七、联系方式
联系人:袁倩茜
联系电话:0591-87111390、13860601102
福建省气象局
二?一三年二月二十日
最新资讯
- 2027年国考:历年进面分数线汇总,今年多少分才能进面2026-04-20
- 2026国家公务员考试网前瞻:考纲改革、岗位趋势与高效上岸攻略2025-04-17
- 喜讯!2021年自然资源部国考面试名单新鲜出炉2021-04-15
- 2021自然资源部国考面试公告2021-04-15
- 2022年度国家公务员职位预测2021-03-19
- 2022年度国考职位预测_国家公务员考试2021-03-19
- 2022年国家公务员考试哪一类人可以报名2021-03-19
- 2022年国家公务员考试有哪些报考条件2021-03-19
- 11月27日到28日开展2022年国考笔试工作2021-03-19
- 2022年度国考笔试时间11月27日-28日_国家公务员网2021-03-19