2013年国家公务员面试递补公告:江西省国家税务局
更新时间:2013-02-28 11:15:39
来源:|0
浏览
收藏
国家公务员报名、考试、查分时间 免费短信提醒
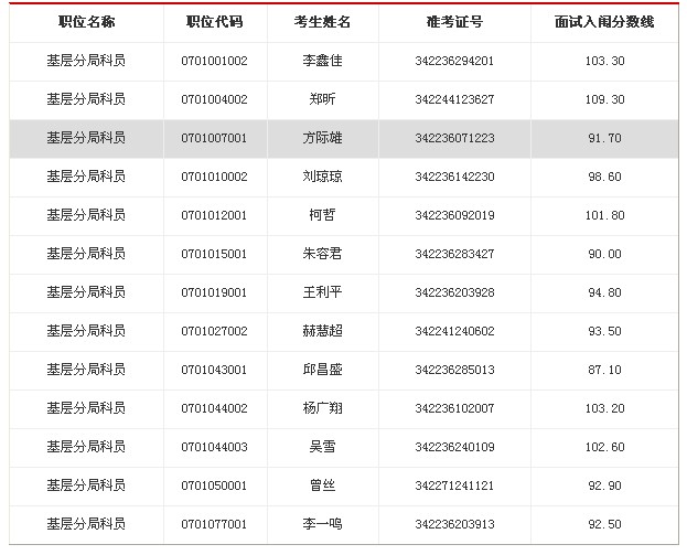
摘要 因部分考生放弃面试资格,根据公务员招考有关规定,拟在公共科目笔试合格的考生中,按照笔试成绩从高到低的顺序,递补以下考生为面试人选.
2013年国家公务员面试递补公告:江西省国家税务局
因部分考生放弃面试资格,根据公务员招考有关规定,拟在公共科目笔试合格的考生中,按照笔试成绩从高到低的顺序,递补以下考生为面试人选:

请以上考生按照《江西省国家税务局系统2013年考试录用公务员面试有关事项的公告》的要求,尽快准备有关材料,按要求参加资格复审和面试。
江西省国家税务局系统面试工作联系电话:0791-86201519。
编辑推荐
最新资讯
- 2026国家公务员考试网前瞻:考纲改革、岗位趋势与高效上岸攻略2025-04-17
- 喜讯!2021年自然资源部国考面试名单新鲜出炉2021-04-15
- 2021自然资源部国考面试公告2021-04-15
- 2022年度国家公务员职位预测2021-03-19
- 2022年度国考职位预测_国家公务员考试2021-03-19
- 2022年国家公务员考试哪一类人可以报名2021-03-19
- 2022年国家公务员考试有哪些报考条件2021-03-19
- 11月27日到28日开展2022年国考笔试工作2021-03-19
- 2022年度国考笔试时间11月27日-28日_国家公务员网2021-03-19
- 定了!2022年度国考11月27-28日进行笔试2021-03-19