江西上饶2013年住房公积金管理中心笔试成绩及面试公告
更新时间:2013-05-13 10:25:05
来源:|0
浏览
收藏
国家公务员报名、考试、查分时间 免费短信提醒
摘要 2013年江西上饶住房公积金管理中心笔试成绩及面试公告
重点推荐:2013年江西省公务员面试课程 3天速成 在线咨询 2014年事业单位考试直播公开课
2013年江西上饶住房公积金管理中心笔试成绩及面试相关事项如下:
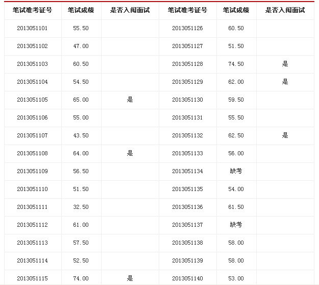
一、笔试成绩及入闱面试人员


二、面试有关事项
面试时间:2013年5月12日9:00
面试候考地点:上饶市行政会议中心第三会议室
上饶市住房公积金管理中心
二?一三年五月十一日
编辑推荐:
编辑推荐
最新资讯
- 2026国考成绩查询入口即将开放!1月查分时间、官网链接、分数线解读最全指南2025-12-09
- 2026国考成绩查询全攻略:1月查分入口、分数线解读及后续流程详解2025-12-09
- 国考历年分数线大盘点:2018-2025年数据全解析,看透分数线变迁规律2025-12-09
- 2026国考进面分数线何时公布?1月关键节点与历年发布时间规律全解析2025-12-09
- 2026年国考什么时候出成绩?近十年发布时间规律深度解读,附查分入口与面试分数线解析2025-12-08
- 2026年国考成绩一般什么时候出?历年发布时间规律深度解析,附查分入口与进面分数线2025-12-08
- 2026国考笔试面试成绩比例如何计算?掌握综合成绩合成法则,面试1分抵笔试2分2025-12-04
- 2026国考后多久出成绩?权威时间线预测与快速查询指南,附进面分数线深度解析2025-12-04
- 国考啥时候出成绩2026?精准时间预测+历年发布时间深度解析,附快速查询通道与面试攻略2025-12-04
- 2026年国考成绩什么时候出?权威预测与历年发布时间深度解析,附快速查询入口2025-12-04