2013年福建惠安县卫生系统卫技人员面试成绩公示
更新时间:2013-05-17 10:34:57
来源:|0
浏览
收藏
国家公务员报名、考试、查分时间 免费短信提醒
摘要 2013年福建惠安县卫生系统卫技人员面试成绩公示
热点课程:413联考【面试技巧】【模拟考场】 | 2014年事业单位考试直播公开课
课程推荐:2014年国家公务员考试基础课程 | 行测、申论单科专项辅导
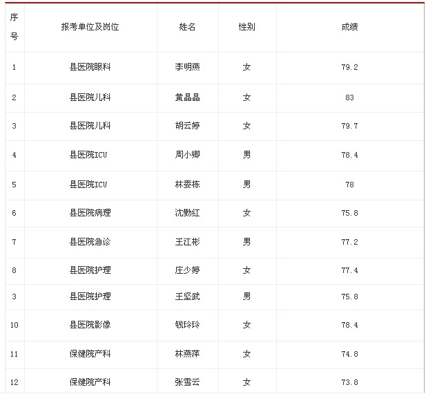
2013年惠安县卫生系统赴医学院校招聘卫技人员面试成绩公示如下:


编辑推荐:
编辑推荐
最新资讯
- 2026国考笔试成绩公布!中华全国总工会面试确认今日(1月16日)17时截止2026-01-16
- 2026国考笔试成绩已经发布!速查分数线,面试名单已公布2026-01-16
- 教育部2026年国考笔试成绩入围考生材料审核通知发布!1月19日前面试确认截止2026-01-16
- 国考成绩查询2026入口,正式开通!面试名单与调剂攻略全解析2026-01-15
- 2026国考成绩查询入口官网正式开通!面试名单与调剂攻略全解析2026-01-15
- 快查分!2026国考成绩查询入口已开通,面试名单或将公布!2026-01-15
- 快查分!2026国考成绩查询需要什么信息?官网查分入口1月14日已开通,面试名单将公布2026-01-15
- 快查分,2026国考成绩查询时间已定!官网查分入口1月14日开通,面试名单将公布2026-01-15
- 2026年国考成绩查询时间已定!官网查分入口正式开通,面试名单将公布2026-01-15
- 国考成绩查询2026,官网查分入口已开通!面试名单已公布2026-01-15