2013年安徽省广播电视科研所资格复审及专业测试公告
课程推荐:2014年国家公务员考试基础课程 | 行测、申论单科专项辅导
热点课程:413联考面试一对一互动辅导 | 2014年事业单位考试直播公开课
根据省委组织部、省人力资源和社会保障厅《关于印发<安徽省事业单位公开招聘人员暂行办法>的通知》和《关于印发〈2013年度安徽省省直事业单位公开招聘人员实施方案〉的通知》规定和相关要求,并结合安徽省广播电视科研所(以下简称“省广电科研所”)工作实际,特制定如下专业测试及有关工作实施方案。
一、资格复审
(一)确定参加资格复审的人员
根据应聘人员统考笔试成绩从高分到低分的顺序,按照1∶5比例确定参加专业测试人员名单,并进行资格复审(名单、成绩附后)。
(二)资格复审时间和地点
时间:2013年5月23日-24日,上午8∶30―11∶30,下午14∶30―17∶30,逾期视为自动放弃。
地点:省广电科研所办公室(合肥市桐城南路359号,省广电科研所2楼)。乘车路线:120、131、158等公交车到省广电中心车站下。联系电话:0551-63443465,联系人:邓成华。网址:www.angdky.cn;电子信箱:angdky @163.com。
(三)资格复审要求
1.资格复审时,应聘人员须提供以下证件、材料的原件及复印件各1份:
(1)属全日制2013年应届毕业生的,须提供本人有效居民身份证原件、学生证原件、研究生学历(位)证书、报名资格审查表和所在学校盖章的毕业生就业推荐表等材料。
(2)属社会人员的,须提供本人有效居民身份证原件、硕士学历(学位)证书、招聘岗位规定要求的相关证书(证件)原件和报名资格审查表等材料。其中属在编正式工作人员的,需按人事管理权限提供单位(主管部门)同意报考的证明。
(3)招聘岗位要求具有1年以上工作经历的,需提供相关证明。
上述人员中,属已修完教学计划规定全部课程、各科成绩合格、2013年毕业但尚未取得毕业证书的非全日制学历教育的人员,可凭学校或省、市负责自学考试、成人教育等工作的教育主管部门出具的该学历层次、毕业时间以及“2013年毕业,已修完教学计划规定全部课程,各科成绩合格,毕业证书待发”的书面证明和各科“成绩单”,及有关证件材料办理报考资格复审。
2.省广电科研所依据招聘公告规定的报考资格条件和应聘人员网上报名时提供的照片与信息,对照省人事考试院提供的《考场座次表》上的信息,对进入专业测试的人选进行资格复审。凡与报考资格条件要求不符或不能按规定提供证件材料的,取消其参加专业测试资格。因故出现人选缺额的,依统考笔试成绩从高分到低分,依次等额递补(按省人社厅规定,须在统考笔试最低控制分数线之上,下同)。
3. 对资格复审合格的应聘人员,按规定缴纳专业测试费用,领取专业测试通知书。
二、专业测试
(一)专业测试方法
采用专业笔试和面试方式。专业笔试和面试均为百分制。
1.专业笔试:采取闭卷方式,时间为120分钟。主要考察拟聘人员从事岗位工作必备的专业技术相关知识。
2.面试:采取结构化面试的方式,时间每人15分钟。主要考察应聘者履行本岗位的专业技术水平、综合分析、解决实际问题能力、语言表达能力等。参加面试的人员顺序现场抽签确定。面试成绩当场评定并公布。
(二)专业测试时间和地点
1.专业测试时间:定于2013年5月28日进行,专业笔试时间为28日上午9∶00―11∶00,面试时间为28日下午14∶30―17∶00。考生请于当天上午8∶30、下午14∶00前到省广电科研所办公室报到。未按时参加专业测试报到的人员,视为自动放弃考试资格。
2.专业测试笔试和面试地点设在省广电科研所三楼办公室及会议室。
3.参加专业测试的人员须持专业测试通知书、统考笔试准考证、本人有效居民身份证(均为原件)参加专业测试。
(三)监考人员及考官构成
设立专业笔试监考组,由省广电局人事处、监察室和省广电科研所人员组成。
根据招聘专业岗位,设立面试考官组,考官由5人组成,其中外聘考官3名。
(四)成绩合成
如岗位招聘数与进入专业测试人员比例低于1∶3,提前设定专业测试最低分数线70分。对专业测试成绩未达到最低分数线的考生,不予进入考察和体检。
应聘人员考试最终成绩依据统考笔试成绩与专业测试成绩合成确定(百分制),其中:统考笔试成绩占35%,专业测试成绩占65%(专业笔试成绩占35%、面试成绩占30%)。
应聘者考试最终成绩在专业测试结束后10个工作日内在省广播电影电视局和省广电科研所网站上公布。
三、考察体检
根据招聘计划数和应聘人员考试最终成绩,从高分到低分,按1∶1比例确定参加考察、体检人员(如考试最终成绩相同,以专业测试成绩得分高者优先)。
考察主要考核拟聘人员的政治思想、道德品质、业务能力、工作实绩(学业成绩)以及遵守国家法律法规等情况。
对考察合格的人员统一组织在三级甲等综合性医院进行体检,费用自理。体检参照《公务员录用体检通用标准(试行)》(国人部发〔2005〕1号)、《公务员录用体检操作手册(试行)》(国人厅发〔2007〕25号)、《关于修订〈公务员录用体检通用标准(试行)〉及〈公务员录用体检操作手册(试行)〉的通知》(人社部发〔2010〕19号)和《公务员录用体检特殊标准(试行)》(人社部发〔2010〕82号)等规定执行。对考察、体检出现缺额的,按照规定程序和时限,在同岗位报考人员中,按考试最终成绩从高分到低分依次等额递补。考察、体检最终结果公示结束,不再递补。
四、签约聘用
对考察、体检合格者,由省广电科研所确定为拟聘人员,在省广播电影电视局和省广电科研所网站公示7天。公示无异议后,按规定将有关材料送省广电局审查后,报省人社厅核准办理有关手续。
应聘人员如在2013年12月31日前仍未取得招聘岗位规定要求的学历、学位等证书,按规定取消其聘用资格。
根据国家和省有关文件规定,新进人员实行聘用制,须与招聘单位签订事业单位聘用合同,并实行试用期,试用期包括在聘用合同期限内。试用期满合格的,予以正式聘用;不合格的,取消聘用。
五、组织领导与监督
专业测试工作严格执行民主、公开、竞争、择优的原则,在省人社厅和省广电局的指导监督下,由省广电科研所按人事考试规则和保密、回避等规定负责组织实施,省广电局纪检监察室全程参与监督,并接受社会及有关部门的监督。
咨询电话:0551-63443465
监督电话:0551-63421341
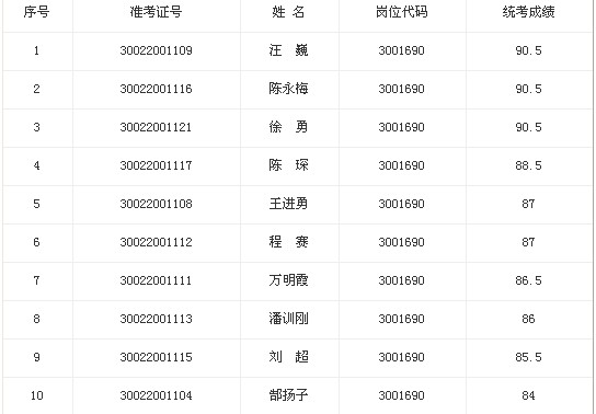
省广电科研所2013年度公开招聘入围资格复审考生名单:

编辑推荐:
最新资讯
- 2026国考笔试成绩公布!中华全国总工会面试确认今日(1月16日)17时截止2026-01-16
- 2026国考笔试成绩已经发布!速查分数线,面试名单已公布2026-01-16
- 教育部2026年国考笔试成绩入围考生材料审核通知发布!1月19日前面试确认截止2026-01-16
- 国考成绩查询2026入口,正式开通!面试名单与调剂攻略全解析2026-01-15
- 2026国考成绩查询入口官网正式开通!面试名单与调剂攻略全解析2026-01-15
- 快查分!2026国考成绩查询入口已开通,面试名单或将公布!2026-01-15
- 快查分!2026国考成绩查询需要什么信息?官网查分入口1月14日已开通,面试名单将公布2026-01-15
- 快查分,2026国考成绩查询时间已定!官网查分入口1月14日开通,面试名单将公布2026-01-15
- 2026年国考成绩查询时间已定!官网查分入口正式开通,面试名单将公布2026-01-15
- 国考成绩查询2026,官网查分入口已开通!面试名单已公布2026-01-15
