2013年环境保护部拟录用人员公示
更新时间:2013-05-27 10:51:54
来源:|0
浏览
收藏
国家公务员报名、考试、查分时间 免费短信提醒
摘要 2013年环境保护部拟录用人员公示
课程推荐:2014年国家公务员考试基础课程 | 行测、申论单科专项辅导
热点课程:413联考面试一对一互动辅导 | 2014年事业单位考试直播公开课
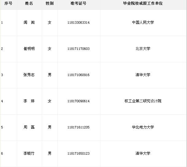
根据2013年度公务员考录工作有关规定,综合考试成绩、体检结果及考察情况,经研究,拟录用闻闽等8人为环境保护部机关公务员和方?等41人为环境保护部参公单位工作人员(名单附后),现将有关情况进行公示。公示期间,如对人选有异议,请向环境保护部人事司反映。
公示时间:2013年5月24日至5月30日
监督电话:010-66556171


环境保护部行政体制与人事司
2013年5月23日
编辑推荐:
编辑推荐
最新资讯
- 2026国考成绩查询入口即将开放!1月查分时间、官网链接、分数线解读最全指南2025-12-09
- 2026国考成绩查询全攻略:1月查分入口、分数线解读及后续流程详解2025-12-09
- 国考历年分数线大盘点:2018-2025年数据全解析,看透分数线变迁规律2025-12-09
- 2026国考进面分数线何时公布?1月关键节点与历年发布时间规律全解析2025-12-09
- 2026年国考什么时候出成绩?近十年发布时间规律深度解读,附查分入口与面试分数线解析2025-12-08
- 2026年国考成绩一般什么时候出?历年发布时间规律深度解析,附查分入口与进面分数线2025-12-08
- 2026国考笔试面试成绩比例如何计算?掌握综合成绩合成法则,面试1分抵笔试2分2025-12-04
- 2026国考后多久出成绩?权威时间线预测与快速查询指南,附进面分数线深度解析2025-12-04
- 国考啥时候出成绩2026?精准时间预测+历年发布时间深度解析,附快速查询通道与面试攻略2025-12-04
- 2026年国考成绩什么时候出?权威预测与历年发布时间深度解析,附快速查询入口2025-12-04
