2013年四川省政府金融办公务员面试资格复审名单
更新时间:2013-05-29 13:41:05
来源:|0
浏览
收藏
国家公务员报名、考试、查分时间 免费短信提醒
摘要 2013年四川省政府金融办公务员面试资格复审名单
课程推荐:2014年国家公务员考试基础课程 | 行测、申论单科专项辅导
热点课程:413联考面试一对一互动辅导 | 2014年事业单位考试直播公开课
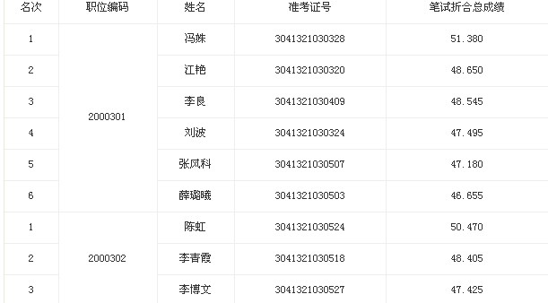
2013年四川省政府金融办公务员面试资格复审名单如下:

编辑推荐:
编辑推荐
最新资讯
- 2026年国考什么时候出成绩?近十年发布时间规律深度解读,附查分入口与面试分数线解析2025-12-08
- 2026年国考成绩一般什么时候出?历年发布时间规律深度解析,附查分入口与进面分数线2025-12-08
- 2026国考笔试面试成绩比例如何计算?掌握综合成绩合成法则,面试1分抵笔试2分2025-12-04
- 2026国考后多久出成绩?权威时间线预测与快速查询指南,附进面分数线深度解析2025-12-04
- 国考啥时候出成绩2026?精准时间预测+历年发布时间深度解析,附快速查询通道与面试攻略2025-12-04
- 2026年国考成绩什么时候出?权威预测与历年发布时间深度解析,附快速查询入口2025-12-04
- 2026国考笔试成绩公布时间及查询指南2025-12-04
- 2026国考成绩什么时候出?1月中上旬公布查询入口及分数线解析2025-12-04
- 2026国考成绩查询入口1月开通!查分时间+官网入口+成绩构成全解析2025-12-03
- 2026国考成绩查询全攻略:官网入口+查分时间+成绩构成解析2025-12-03
