2013年北京市委宣传部军转干面试公告
更新时间:2013-07-12 15:32:51
来源:|0
浏览
收藏
国家公务员报名、考试、查分时间 免费短信提醒
摘要 2013年北京市委宣传部军转干面试公告
课程推荐:2014年公务员课程7天免费学 :基础精讲 高效强化 高效押题 专项特训
个性课程:2014年公务员个性辅导:申论批改 技巧专讲 冲刺密卷 个性定制
根据北京市军转办接收安置军队转业干部的有关规定,现就北京市委宣传部2013年接收安置军队转业干部面试工作的有关事项公告如下:
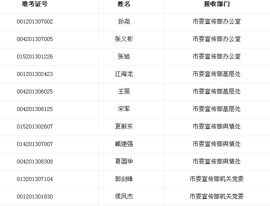
一、面试人员


以上人员若不能参加面试,将按职位依次递补。
二、考试时间
具体考试时间确定后以电话或短信形式通知本人。
三、考试地点
东单新闻大厦酒店四层会议室。
四、考试方式
考试采取半结构化方式面试。市外宣办职位加考英语专业测试。
五、注意事项
参加考试时需提交审核的材料包括:本人统一笔试准考证、军官证原件、个人简历5份、学历及学位证书复印件。
中共北京市委宣传部
2013年7月12日
温馨提示:请大家及时关注环球网校公务员频道及论坛,小编将第一时间为大家提供公务员考试最新信息。
编辑推荐:
编辑推荐
最新资讯
- 2026年国考什么时候出成绩?近十年发布时间规律深度解读,附查分入口与面试分数线解析2025-12-08
- 2026年国考成绩一般什么时候出?历年发布时间规律深度解析,附查分入口与进面分数线2025-12-08
- 2026国考笔试面试成绩比例如何计算?掌握综合成绩合成法则,面试1分抵笔试2分2025-12-04
- 2026国考后多久出成绩?权威时间线预测与快速查询指南,附进面分数线深度解析2025-12-04
- 国考啥时候出成绩2026?精准时间预测+历年发布时间深度解析,附快速查询通道与面试攻略2025-12-04
- 2026年国考成绩什么时候出?权威预测与历年发布时间深度解析,附快速查询入口2025-12-04
- 2026国考笔试成绩公布时间及查询指南2025-12-04
- 2026国考成绩什么时候出?1月中上旬公布查询入口及分数线解析2025-12-04
- 2026国考成绩查询入口1月开通!查分时间+官网入口+成绩构成全解析2025-12-03
- 2026国考成绩查询全攻略:官网入口+查分时间+成绩构成解析2025-12-03