2013年贵州省政法干警网上交费不足3:1职位(9月3日)
更新时间:2013-09-04 11:02:49
来源:|0
浏览
收藏
国家公务员报名、考试、查分时间 免费短信提醒
摘要 2013年贵州省政法干警网上交费不足3:1职位(9月3日)
课程推荐:2014年公务员课程7天免费学 :基础精讲 高效强化 高效押题 专项特训
个性课程:2014年公务员个性辅导:申论批改 技巧专讲 冲刺密卷 个性定制
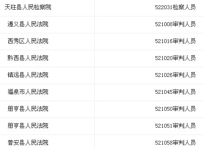
2013年贵州省政法干警网上交费不足3:1职位如下:


温馨提示:请大家及时关注环球网校公务员频道及论坛,小编将第一时间为大家提供公务员考试最新信息。
编辑推荐:
编辑推荐
最新资讯
- 2027年国考招考公告官网何时发布?预计10月14日,附历年时间汇总及全面备考指南2026-03-10
- 国考公告2027时间何时发布?权威预测:预计10月14日!附历年考情深度分析及2026职位表参2026-03-09
- 2027年国考报名时间预计10月15日启动!公告发布时间、笔试时间预测及2026年职位表参考2026-03-09
- 国考2027报名入口一键直达!官方网址、报名时间预测与全流程操作指南2026-02-27
- 2027国考只能应届生报名吗?深度解析:往届生、社会人员报考资格与职位选择全攻略2026-02-27
- 2027国家公务员报名官网入口全解析:一键收藏!官方网址、报名流程与避坑指南2026-02-27
- 2027国考报名网站入口全攻略:官方网址、报名流程与常见问题一站式解答2026-02-27
- 2027年国考报名时间预测出炉!10月15日启动,附完整时间线与备考全攻略2026-02-27
- 27年国考什么时候考试?权威预测:2026年11月底笔试,全年备考时间轴来了!2026-02-25
- 2027年国考缺考会影响下一次报名吗?官方答案与考生必读指南2026-02-25