2014年国家公务员考试职位表(山东省邮政管理局)
更新时间:2013-10-17 15:04:12
来源:|0
浏览
收藏
国家公务员报名、考试、查分时间 免费短信提醒
摘要 2014年国家公务员考试职位表(山东省邮政管理局)
课程推荐:2014年公务员课程7天免费学 :基础精讲 高效强化 高效押题 专项特训
个性课程:2014年公务员个性辅导:申论批改 技巧专讲 冲刺密卷 个性定制
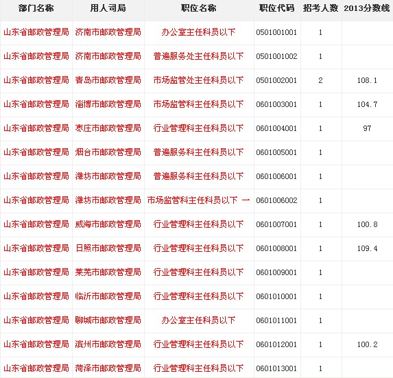
2014年国家公务员考试山东省邮政管理局职位表如下:

热点文章:2014年国家公务员考试职位表
编辑推荐:
编辑推荐
最新资讯
- 2027国家公务员考试职位表发布在即!一键获取全网最全职位筛选攻略与报考指南2026-02-14
- 2027公务员国考和省考有什么区别?一文读懂“中央军”与“地方军”的9大核心差异!2026-02-14
- 2026年国考面试是去当地面试吗?面试地点安排全揭秘,一文读懂跨省赴考规则!2026-02-13
- 2026年国考面试成绩什么时候公布?权威时间表与查询攻略来了!2026-02-13
- 备战2026年国考公务员考试:8大“黄金”过渡性工作盘点(在职备考必看)2025-12-16
- 2026国考公务员备考攻略:8个“神仙”过渡工作,边工作边上岸2025-12-16
- 2027国考岗位职位表查询全攻略:手把手教你精准筛选适合岗位2025-12-09
- 2027国家公务员考试职位表发布时间预测!10月14日公告,这份超全职位筛选指南请收好2025-12-09
- 2026年国家公务员考试前夜必读:八大关键准备事项2025-11-28
- 2026国考笔试考哪些科目?这份超全科目清单请收好2025-11-28