2013年陕西商洛市从工农中录用公务员拟录名单公示
更新时间:2013-10-25 10:43:24
来源:|0
浏览
收藏
国家公务员报名、考试、查分时间 免费短信提醒
摘要 2013年陕西商洛市从工农中录用公务员拟录名单公示
课程推荐:2014年公务员课程7天免费学 :基础精讲 高效强化 高效押题 专项特训
个性课程:2014年公务员个性辅导:申论批改 技巧专讲 冲刺密卷 个性定制
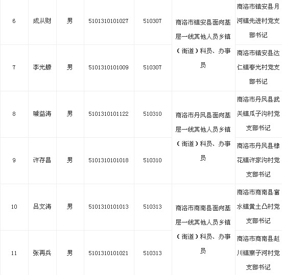
根据《2013年陕西省从优秀工人农民中考试录用公务员工作公告》有关要求,经推荐报名和笔试、面试、量化考察、体检等程序,拟录用下列同志为商洛市面向基层一线其他人员职位公务员,现予以公示,欢迎社会各界广泛监督。如有异议,可直接向商洛市委组织部或省委组织部公务员管理处反映。
公示时间:2013年10月24日―10月30日
监督电话:商洛市委组织部:0914-2389190
省委组织部:029―85588750



最新资讯
- 2026国考笔试成绩公布!中华全国总工会面试确认今日(1月16日)17时截止2026-01-16
- 2026国考笔试成绩已经发布!速查分数线,面试名单已公布2026-01-16
- 教育部2026年国考笔试成绩入围考生材料审核通知发布!1月19日前面试确认截止2026-01-16
- 国考成绩查询2026入口,正式开通!面试名单与调剂攻略全解析2026-01-15
- 2026国考成绩查询入口官网正式开通!面试名单与调剂攻略全解析2026-01-15
- 快查分!2026国考成绩查询入口已开通,面试名单或将公布!2026-01-15
- 快查分!2026国考成绩查询需要什么信息?官网查分入口1月14日已开通,面试名单将公布2026-01-15
- 快查分,2026国考成绩查询时间已定!官网查分入口1月14日开通,面试名单将公布2026-01-15
- 2026年国考成绩查询时间已定!官网查分入口正式开通,面试名单将公布2026-01-15
- 国考成绩查询2026,官网查分入口已开通!面试名单已公布2026-01-15