2013年湖南供销合作总社遴选公务员面试公告
更新时间:2013-11-21 10:55:29
来源:|0
浏览
收藏
国家公务员报名、考试、查分时间 免费短信提醒
摘要 2013年湖南供销合作总社遴选公务员面试公告
课程推荐:2014年公务员课程7天免费学 :基础精讲 高效强化 高效押题 专项特训
个性课程:2014年公务员个性辅导:申论批改 技巧专讲 冲刺密卷 个性定制
根据中共湖南省委组织部、省人力资源和社会保障厅、省公务员局《2013年省直机关公开遴选公务员公告》,经过笔试和资格审查,按遴选人数1:3比例确定参加业务水平测试和面试人员,现将有关事项公告如下:
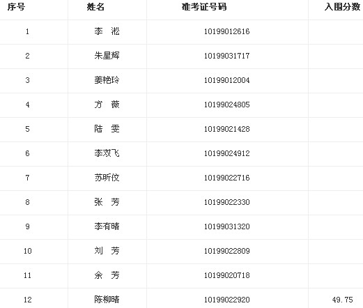
1.财务及综合管理职位(12人):

2.法务工作岗位(3人):

业务水平测试时间与地点
11月22日(星期五)下午2:30-5:00,省供销合作总社7楼大会议室。
面试时间与地点
11月23日(星期六)上午8:00前报到,8:30开始。省供销合作总社7楼大会议室。
四、成绩合成
面试结束后,按笔试成绩的50%、面试成绩的30%、业务水平测试成绩的20%合成综合成绩。财务及综合管理职位取综合成绩前四名进入体检与考察环节;法务工作职位取综合成绩第一名进入体检与考察环节。
进行业务水平测试与面试时,须携带本人身份证及准考证。未按规定参加业务水平测试和面试的人员,视作自动放弃。
联系电话:0731―84403104(省供销合作总社人事处)。
湖南省供销合作总社
2013年11月20日
复习备考:国考预测题
编辑推荐:
编辑推荐
最新资讯
- 2026年贵州省考成绩查询入口已开通!查分后必看:深度解析“省考和国考分差”2026-04-10
- 国考和省考双线备战指南:2026湖南省考笔试成绩查询与排名解析,附面试逆袭攻略2026-04-09
- 2026国考笔试成绩公布!中华全国总工会面试确认今日(1月16日)17时截止2026-01-16
- 2026国考笔试成绩已经发布!速查分数线,面试名单已公布2026-01-16
- 教育部2026年国考笔试成绩入围考生材料审核通知发布!1月19日前面试确认截止2026-01-16
- 国考成绩查询2026入口,正式开通!面试名单与调剂攻略全解析2026-01-15
- 2026国考成绩查询入口官网正式开通!面试名单与调剂攻略全解析2026-01-15
- 快查分!2026国考成绩查询入口已开通,面试名单或将公布!2026-01-15
- 快查分!2026国考成绩查询需要什么信息?官网查分入口1月14日已开通,面试名单将公布2026-01-15
- 快查分,2026国考成绩查询时间已定!官网查分入口1月14日开通,面试名单将公布2026-01-15