2013年安徽省亳州市考录公务员拟录用名单公示(第二批)
更新时间:2013-11-29 10:32:48
来源:|0
浏览
收藏
国家公务员报名、考试、查分时间 免费短信提醒
摘要 2013年安徽省亳州市考录公务员拟录用名单公示(第二批),公示时间自2013年11月27日至12月3日止。
课程推荐:2014年公务员课程7天免费学 :基础精讲 高效强化 高效押题 专项特训
个性课程:2014年公务员个性辅导:申论批改 技巧专讲 冲刺密卷 个性定制
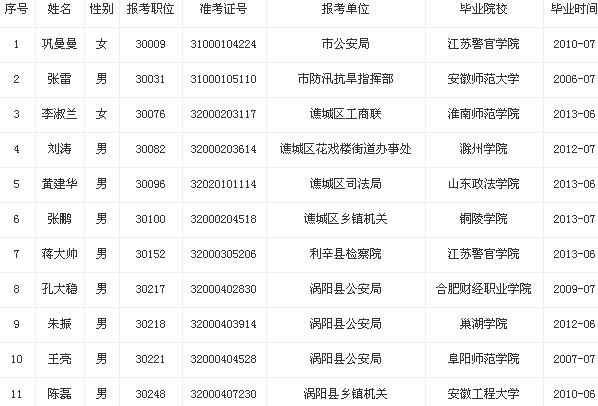
根据《亳州市2013年考试录用公务员公告》精神,确定巩曼曼等11名考生为第二批拟录用人员,现予公示。公示时间自2013年11月27日至12月3日止,欢迎社会各界监督。公示期间举报电话:0558-5555812(市纪委执法一室)、5991155(市第一纪检组)、5132016(市人社局)。
公示结束后,属公务员的到原工作单位办理退出公务员队伍的批准手续;属事业单位工作人员的到原工作单位办理解除聘用关系的批准手续,以便及时办理入编手续。
特此公告。

亳州市人社局
2013年11月27日
复习备考:公务员面试模拟题
编辑推荐:
编辑推荐
最新资讯
- 2026年贵州省考成绩查询入口已开通!查分后必看:深度解析“省考和国考分差”2026-04-10
- 国考和省考双线备战指南:2026湖南省考笔试成绩查询与排名解析,附面试逆袭攻略2026-04-09
- 2026国考笔试成绩公布!中华全国总工会面试确认今日(1月16日)17时截止2026-01-16
- 2026国考笔试成绩已经发布!速查分数线,面试名单已公布2026-01-16
- 教育部2026年国考笔试成绩入围考生材料审核通知发布!1月19日前面试确认截止2026-01-16
- 国考成绩查询2026入口,正式开通!面试名单与调剂攻略全解析2026-01-15
- 2026国考成绩查询入口官网正式开通!面试名单与调剂攻略全解析2026-01-15
- 快查分!2026国考成绩查询入口已开通,面试名单或将公布!2026-01-15
- 快查分!2026国考成绩查询需要什么信息?官网查分入口1月14日已开通,面试名单将公布2026-01-15
- 快查分,2026国考成绩查询时间已定!官网查分入口1月14日开通,面试名单将公布2026-01-15