2013年内蒙古交通建设工程质量监督局事业单位拟聘名单公示
更新时间:2013-12-03 09:45:34
来源:|0
浏览
收藏
国家公务员报名、考试、查分时间 免费短信提醒
摘要 2013年内蒙古交通建设工程质量监督局事业单位拟聘名单公示,公示时间为2013年11月28日―12月4日。
课程推荐:2014年公务员课程7天免费学 :基础精讲 高效强化 高效押题 专项特训
个性课程:2014年公务员个性辅导:申论批改 技巧专讲 冲刺密卷 个性定制
根据《2013年度内蒙古自治区政府系列直属(含部门所属)事业单位公开招聘工作人员总简章》要求,通过公共科目考试、专业测试、体检、考核等程序并经内蒙古自治区交通建设工程质量监督局研究,共有10人进入拟聘用人员范围。
一、公示时间
2013年11月28日―12月4日
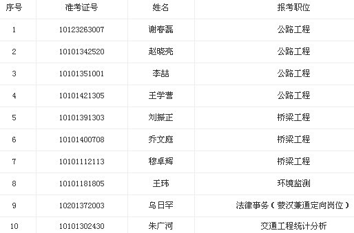
二、拟聘用人员名单

三、受理方式
凡单位或个人对公示情况有异议,可通过电话、来访、来函等形式反映上述公示对象的有关情况和问题。并对所反映的问题提供可调查核实的证明人以及其他有关材料和线索。
受理时间:上午 8:30――12:00;下午 2:30――5:30。
内蒙古人力资源和社会保障厅:0471――6944911
内蒙古自治区交通运输厅人事处:0471―6916876
内蒙古自治区交通建设工程质量监督局
2013年11月28日
复习备考:公务员面试模拟题
编辑推荐:
编辑推荐
最新资讯
- 2026年贵州省考成绩查询入口已开通!查分后必看:深度解析“省考和国考分差”2026-04-10
- 国考和省考双线备战指南:2026湖南省考笔试成绩查询与排名解析,附面试逆袭攻略2026-04-09
- 2026国考笔试成绩公布!中华全国总工会面试确认今日(1月16日)17时截止2026-01-16
- 2026国考笔试成绩已经发布!速查分数线,面试名单已公布2026-01-16
- 教育部2026年国考笔试成绩入围考生材料审核通知发布!1月19日前面试确认截止2026-01-16
- 国考成绩查询2026入口,正式开通!面试名单与调剂攻略全解析2026-01-15
- 2026国考成绩查询入口官网正式开通!面试名单与调剂攻略全解析2026-01-15
- 快查分!2026国考成绩查询入口已开通,面试名单或将公布!2026-01-15
- 快查分!2026国考成绩查询需要什么信息?官网查分入口1月14日已开通,面试名单将公布2026-01-15
- 快查分,2026国考成绩查询时间已定!官网查分入口1月14日开通,面试名单将公布2026-01-15