2013年黑龙江大兴安岭政法干警考察合格名单公示
更新时间:2014-01-16 11:05:35
来源:|0
浏览
收藏
国家公务员报名、考试、查分时间 免费短信提醒
摘要 2013年黑龙江大兴安岭政法干警考察合格名单公示,拟录用人员名单将向社会公示7工作日。
课程推荐:2014年公务员课程7天免费学 :基础精讲 高效强化 高效押题 专项特训
个性课程:2014年公务员个性辅导:申论批改 技巧专讲 冲刺密卷 个性定制
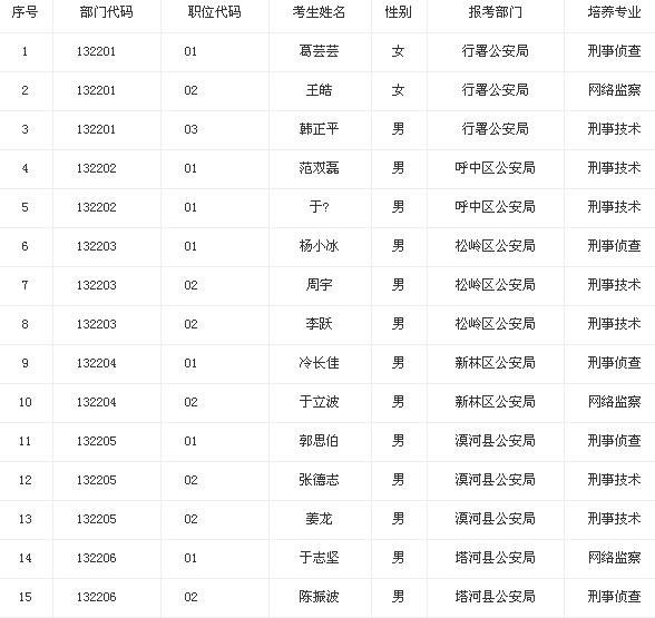
根据《关于做好2013年黑龙江省政法干警招考体能测试及体检考察工作的通知》(黑公局函[2013]72号)等文件规定,报考大兴安岭地区政法干警的24名考生,经笔试、面试、体检与考察等程序,符合本次考试录用基本条件,拟录用为公务员。拟录用人员名单将向社会公示7工作日,公示期间如有问题,请及时向大兴安岭地区人力资源和社会保障局反映,监督联系电话:行署人社局考录科0457-2756330,纪检监察室0457-256499。


大兴安岭地区人力资源和社会保障局
2014年1月14日
复习备考:公务员考试真题下载 公务员考试复习资料 公务员面试辅导
编辑推荐:
编辑推荐
最新资讯
- 2026年贵州省考成绩查询入口已开通!查分后必看:深度解析“省考和国考分差”2026-04-10
- 国考和省考双线备战指南:2026湖南省考笔试成绩查询与排名解析,附面试逆袭攻略2026-04-09
- 2026国考笔试成绩公布!中华全国总工会面试确认今日(1月16日)17时截止2026-01-16
- 2026国考笔试成绩已经发布!速查分数线,面试名单已公布2026-01-16
- 教育部2026年国考笔试成绩入围考生材料审核通知发布!1月19日前面试确认截止2026-01-16
- 国考成绩查询2026入口,正式开通!面试名单与调剂攻略全解析2026-01-15
- 2026国考成绩查询入口官网正式开通!面试名单与调剂攻略全解析2026-01-15
- 快查分!2026国考成绩查询入口已开通,面试名单或将公布!2026-01-15
- 快查分!2026国考成绩查询需要什么信息?官网查分入口1月14日已开通,面试名单将公布2026-01-15
- 快查分,2026国考成绩查询时间已定!官网查分入口1月14日开通,面试名单将公布2026-01-15