2013年广东省江门市考试录用公务员名单公示(第九批)
更新时间:2014-01-21 10:49:49
来源:|0
浏览
收藏
国家公务员报名、考试、查分时间 免费短信提醒
摘要 2013年广东省江门市考试录用公务员名单公示,公示时间7天2014年1月8日至14日。
课程推荐:2014年公务员课程7天免费学 :基础精讲 高效强化 高效押题 专项特训
个性课程:2014年公务员个性辅导:申论批改 技巧专讲 冲刺密卷 个性定制
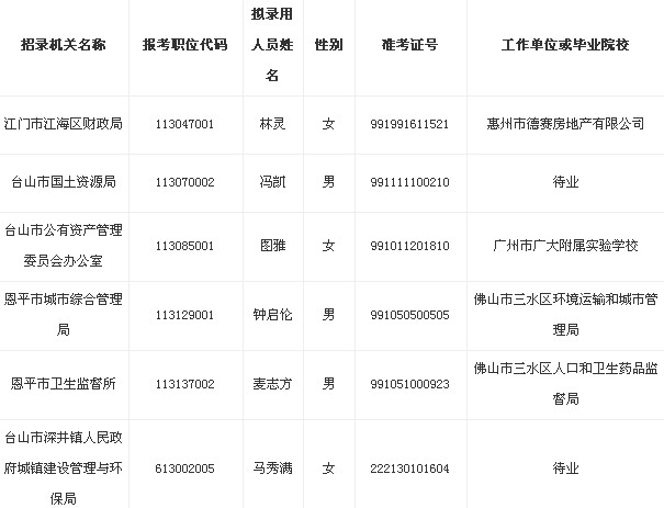
经2013年公务员招录考试、体检、考察等程序,以下同志已经具备录用为公务员的资格条件,拟录用为公务员。根据公务员录用的有关规定,现予以公示,公示时间7天(2014年1月8日至14日)。
公示期间,我局设立投诉电话(0750-3333394,传真:0750-3334437),接受社会对拟录用人员的意见。
此为第九批公示名单,请继续留意第十批公示名单。

复习备考:公务员考试真题下载 公务员考试复习资料 公务员面试辅导
编辑推荐:
编辑推荐
上一篇:2014年北京公务员考试调剂公告
最新资讯
- 2026国考笔试成绩公布!中华全国总工会面试确认今日(1月16日)17时截止2026-01-16
- 2026国考笔试成绩已经发布!速查分数线,面试名单已公布2026-01-16
- 教育部2026年国考笔试成绩入围考生材料审核通知发布!1月19日前面试确认截止2026-01-16
- 国考成绩查询2026入口,正式开通!面试名单与调剂攻略全解析2026-01-15
- 2026国考成绩查询入口官网正式开通!面试名单与调剂攻略全解析2026-01-15
- 快查分!2026国考成绩查询入口已开通,面试名单或将公布!2026-01-15
- 快查分!2026国考成绩查询需要什么信息?官网查分入口1月14日已开通,面试名单将公布2026-01-15
- 快查分,2026国考成绩查询时间已定!官网查分入口1月14日开通,面试名单将公布2026-01-15
- 2026年国考成绩查询时间已定!官网查分入口正式开通,面试名单将公布2026-01-15
- 国考成绩查询2026,官网查分入口已开通!面试名单已公布2026-01-15