2014年民政部拟录用公务员名单公示
更新时间:2014-03-25 09:40:56
来源:|0
浏览
收藏
国家公务员报名、考试、查分时间 免费短信提醒
摘要 2014年民政部拟录用公务员名单公示,公示时间:2014年3月24日至4月1日。
课程推荐:2014年公务员课程7天免费学 :基础精讲 高效强化 高效押题 专项特训
个性课程:2014年公务员个性辅导:申论批改 技巧专讲 冲刺密卷 个性定制
根据2014年度公务员考录工作有关规定,在笔试、面试、体检和考察的基础上,对拟录用的13名机关公务员、1名参照公务员法管理事业单位工作人员面向社会予以公示。公示期间,如有问题,请及时向民政部人事司反映。
公示时间:2014年3月24日至4月1日
举报地址:北京市东城区北河沿大街147号
邮政编码:100721
监督电话:010-58123358,传真:58123357
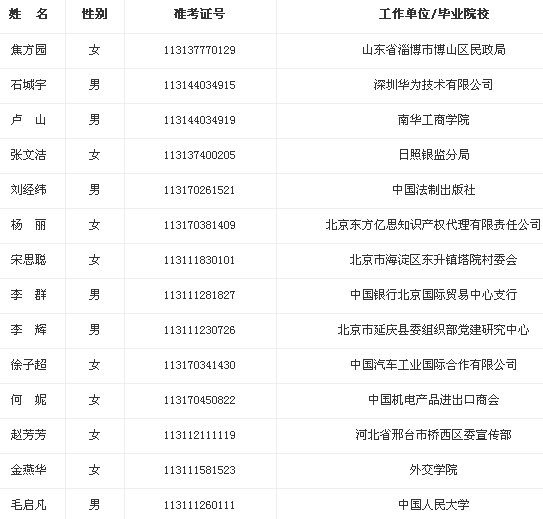
民政部2014年拟录用公务员、参照管理工作人员人选名单:

民政部人事司
2014年3月24日
复习备考: 公务员考试真题下载 公务员考试复习资料 公务员面试备考
编辑推荐:
编辑推荐
最新资讯
- 2026年贵州省考成绩查询入口已开通!查分后必看:深度解析“省考和国考分差”2026-04-10
- 国考和省考双线备战指南:2026湖南省考笔试成绩查询与排名解析,附面试逆袭攻略2026-04-09
- 2026国考笔试成绩公布!中华全国总工会面试确认今日(1月16日)17时截止2026-01-16
- 2026国考笔试成绩已经发布!速查分数线,面试名单已公布2026-01-16
- 教育部2026年国考笔试成绩入围考生材料审核通知发布!1月19日前面试确认截止2026-01-16
- 国考成绩查询2026入口,正式开通!面试名单与调剂攻略全解析2026-01-15
- 2026国考成绩查询入口官网正式开通!面试名单与调剂攻略全解析2026-01-15
- 快查分!2026国考成绩查询入口已开通,面试名单或将公布!2026-01-15
- 快查分!2026国考成绩查询需要什么信息?官网查分入口1月14日已开通,面试名单将公布2026-01-15
- 快查分,2026国考成绩查询时间已定!官网查分入口1月14日开通,面试名单将公布2026-01-15