2014年中国人民银行拟录用公务员公示(第二批)
更新时间:2014-03-31 09:48:53
来源:|0
浏览
收藏
国家公务员报名、考试、查分时间 免费短信提醒
摘要 2014年中国人民银行拟录用公务员公示,公示期从2014年3月28日至2014年4月3日。
课程推荐:2014年公务员课程7天免费学 :基础精讲 高效强化 高效押题 专项特训
个性课程:2014年公务员个性辅导:申论批改 技巧专讲 冲刺密卷 个性定制
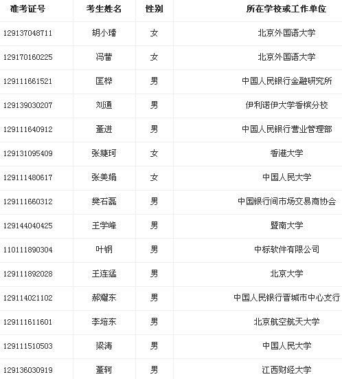
根据公务员考试录用有关规定和要求,经过公共科目笔试、面试、体检、考察等程序,拟录用胡小?等9名同志为我行机关公务员,拟录用王学峰等6名同志为我行参照公务员法管理事业单位的工作人员。现向社会公示,公示期从2014年3月28日至2014年4月3日。
公示期间,如有问题,请及时向中国人民银行人事司反映。监督举报电话:010-66194839。

中国人民银行人事司
二О一四年三月二十七日
复习备考: 公务员考试真题下载 公务员考试复习资料 公务员面试备考
编辑推荐:
编辑推荐
最新资讯
- 2026年贵州省考成绩查询入口已开通!查分后必看:深度解析“省考和国考分差”2026-04-10
- 国考和省考双线备战指南:2026湖南省考笔试成绩查询与排名解析,附面试逆袭攻略2026-04-09
- 2026国考笔试成绩公布!中华全国总工会面试确认今日(1月16日)17时截止2026-01-16
- 2026国考笔试成绩已经发布!速查分数线,面试名单已公布2026-01-16
- 教育部2026年国考笔试成绩入围考生材料审核通知发布!1月19日前面试确认截止2026-01-16
- 国考成绩查询2026入口,正式开通!面试名单与调剂攻略全解析2026-01-15
- 2026国考成绩查询入口官网正式开通!面试名单与调剂攻略全解析2026-01-15
- 快查分!2026国考成绩查询入口已开通,面试名单或将公布!2026-01-15
- 快查分!2026国考成绩查询需要什么信息?官网查分入口1月14日已开通,面试名单将公布2026-01-15
- 快查分,2026国考成绩查询时间已定!官网查分入口1月14日开通,面试名单将公布2026-01-15