2014年中央编译局拟录用机关公务员公示
更新时间:2014-04-11 11:16:28
来源:|0
浏览
收藏
国家公务员报名、考试、查分时间 免费短信提醒
摘要 2014年中央编译局拟录用机关公务员公示,公示期为7天(2014年4月11日至4月17日)。
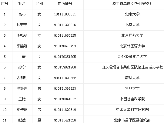
根据中组部、人力资源和社会保障部、国家公务员局《中央机关及其直属机构2014年度考试录用公务员工作实施方案》的要求,经笔试、面试、体检、考察等工作程序,我局拟录用高杉等11名同志为机关工作人员。
现将拟录用人员名单予以公示,公示期为7天(2014年4月11日至4月17日)。公示期间,如有异议,请及时向中央编译局人事部反映。
监督电话: 010-66509859、66509853。
传 真:010-66171206。
中央编译局2014年度拟录用机关工作人员名单

中央编译局人事部
2014年4月11日
复习备考: 公务员考试真题下载 公务员考试复习资料 公务员面试辅导
编辑推荐:
编辑推荐
最新资讯
- 2026年贵州省考成绩查询入口已开通!查分后必看:深度解析“省考和国考分差”2026-04-10
- 国考和省考双线备战指南:2026湖南省考笔试成绩查询与排名解析,附面试逆袭攻略2026-04-09
- 2026国考笔试成绩公布!中华全国总工会面试确认今日(1月16日)17时截止2026-01-16
- 2026国考笔试成绩已经发布!速查分数线,面试名单已公布2026-01-16
- 教育部2026年国考笔试成绩入围考生材料审核通知发布!1月19日前面试确认截止2026-01-16
- 国考成绩查询2026入口,正式开通!面试名单与调剂攻略全解析2026-01-15
- 2026国考成绩查询入口官网正式开通!面试名单与调剂攻略全解析2026-01-15
- 快查分!2026国考成绩查询入口已开通,面试名单或将公布!2026-01-15
- 快查分!2026国考成绩查询需要什么信息?官网查分入口1月14日已开通,面试名单将公布2026-01-15
- 快查分,2026国考成绩查询时间已定!官网查分入口1月14日开通,面试名单将公布2026-01-15