一级建筑师建筑结构考试模拟试题精选一
1. 图示支承可以简化为下列哪一种支座形式?
提示:支承所能约束的位移相同:水平位移、竖向位移。
答案:A
2. 图示桁架杆1、杆2、杆3所受的力分别为( )。
A Sl=4kN,S2=―6.928kN,S3=8kN
B S1=2kN,S2=―3.464kN,S3=4kN
C S1=―4kN,S2=6.928kN,S3=―8kN
D Sl=―2kN,S2=―3.464kN,S3=―4kN
提示:截断杆1,取BC研究,先求出S,,再用结点法取A计算。
答案:B
3. 图示桁架已知P、a,则1、2、3、4杆内力分别为( )。
A Sl=-9P,S2=0,S3=1.414P,S4=8P
B Sl=9P,S2=0,S3=-1.414P,S4=-8P
C S1=-4.5P,S2=0,S3=0.707P,S4=4P
D Sl=4.5P,S2=0,S3=-0.707P,S4=-4P
提示:左右对称,及RA=RB=2.5P,用截面法截开1、3、4杆后,取右半段求解 较简单。杆2是零杆。
答案:C
4. 图示桁架中零杆的个数是( )。
A 1
B 2
C 3
D 4
提示:用零杆判别法直接判断。
答案:D
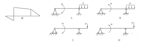
5. 外伸梁受到图示荷载的作用,以下关于其支座反力的叙述,哪些是正确的?
Ι.A点反力向上; Ⅱ.B点反力向上; Ⅲ.A点反力向下;Ⅳ.B点反力向下
A Ι、 Ⅱ
B Ι、Ⅳ
C Ⅱ、 Ⅲ
D Ⅲ、 Ⅳ
提示:用静力学平衡方程分析,分别对A、B点取矩即可。
答案:B
6. 图示四个静定梁的荷载图中,图( )可能产生图示弯矩图。
提示:A、B图中均布荷载不可能产生图示弯矩。而C图中由受力分析可知左端支点反力应向下,也不可能产生图示弯矩。只有D图才是正确的。
答案:D
7. 若梁的荷载及支承情况对称于梁的中央截面C如图所示,则下列结论中( )是正确的。
A Q图对称,M图对称,且Qc=0
B Q图对称,M图反对称,且Mc=0
C Q图反对称,M图对称,且Qc=0
D Q图反对称,M图反对称,且Qc=0
提示:结构对称,荷载对称,则对称的内力M图对称,反对称的内力Q图反
对称,且在对称轴处Qc=0。
答案:C
8. 图中节点B可同时传递哪些内力?
A 剪力和弯矩
B 轴力和弯矩
C 轴力和剪力
D 轴力、剪力和弯矩
提示:节点B不能传递剪力。
答案:B
9. 图示刚架中有错的弯矩图为( )个。
A 1
B 2
C 3
D 4
提示:(I)图右边竖杆应为斜线;(Ⅱ)图竖杆上应有弯矩;
(Ⅲ)图横梁应为下凹曲线;(Ⅳ)图竖杆应为抛物线
答案:D
10. 图示结构为( )次超静定结构。
A 3
B 4
C 5
D 6
提示:截断3根横杆,成为静定的。
答案:A
最新资讯
- 2026一级建筑师《建筑经济、施工与设计业务管理》每周15题(2月第1周)2026-02-06
- 2026一级建筑师《建筑材料与构造》精华模拟题15题(1月更新)2026-02-02
- 2026年一级建筑师每日一练及答案解析汇总(1月23日)2026-01-23
- 2026年一级注册建筑师考试每日一练及答案解析(12月26日)2025-12-26
- 2026年一级注册建筑师考试每日一练及答案解析(12月23日)2025-12-23
- 2026年一级注册建筑师考试每日一练及答案解析(12月15日)2025-12-15
- 2026年注册一级建筑师考试每日一练及答案解析(12月8日)2025-12-08
- 2026年一级注册建筑师资格考试每日一练及答案解析(11月28日)2025-11-28
- 2026年一级注册建筑师考试每日一练及答案解析(11月24日)2025-11-24
- 2026年一级注册建筑师每日一练及答案解析(11月7日)2025-11-07