一级建筑师考试建筑结构辅导:建筑力学10
更新时间:2009-10-19 15:27:29
来源:|0
浏览
收藏
一级建筑师报名、考试、查分时间 免费短信提醒
第五节 超静定结构
特点:(1)反力和内力只凭静力平衡条件不能全部确定;
(2)具有多余约束(多余联系)的几何不变体系;
(3)超静定结构在荷载作用下的反力和内力仅与各杆的相对刚度有关,一般相对刚度较大的杆,其反力和内力也较大;
(4)超静定结构在温度变化和支座位移时会产生内力;一般各杆刚度绝对值增大,内力也随之增大。
优点:(1)防护能力强;
(2)内力和变形分布较均匀、内力和变形的峰值较小。
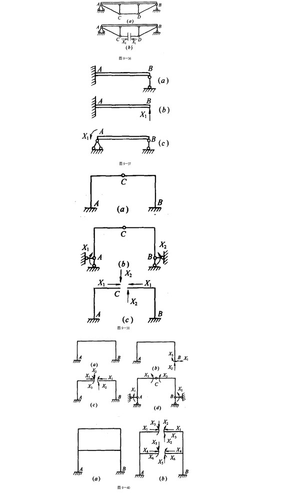
1.超静定次数的确定
超静定次数:多余约束(多余反力)的数目
确定方法:去掉结构的多余约束,使原结构变成一个静定的基本结构,则所去掉的约束(联系)的数目即为结构的超静定次数。
在结构上去掉多余约束的方法,通常有如下几种:
(1)切断一根链杆,或撤去一个支座链杆,相当于去掉一个联系(见图9-36及图9-37)。
(2)去掉一个固定铰或中间铰,相当于去掉两个联系(见图9-38)。
(3)将一刚接处切断,或者撤去一个固定支座,相当于去掉三个联系(见图9-39及图9-40)。
(4)将一固定支座改成铰支座,或将受弯杆件某处改成铰接,相当于去掉一个联系 (见图9-39)。
编辑推荐
最新资讯
- 2026一级建筑师划重点!各科高频考点+高效备考方向一文看懂2026-04-22
- 2026一级建筑师考试时间安排及科目分值提前了解(附各科目答题技巧)2026-04-22
- 2026年一级建筑师《建筑经济、施工与设计业务管理》考前抢分资料 免费下载2026-03-31
- 2026一级建筑师《建筑结构、建筑物理与设备》考前抢分资料,免费下载2026-03-30
- 2026一级建筑师教材重大变动必看,附历年真题解析考前必练2026-03-20
- 【免费下载】2026一级建筑师《建筑设计》1月份重要知识点汇总2026-02-02
- 2026一级注册建筑师考试《设计前期与场地设计》12月核心知识点总结2025-12-30
- 2026年一级建筑师《建筑经济施工与设计业务管理》考点2025-12-01
- 2026年一级建筑师《建筑材料与构造》考点:地基与基础2025-11-04
- 2026年一级建筑师高频考点:关于不稳定传热2025-10-07