2013年北京朝阳区事业单位考试录用工作人员公示
更新时间:2013-05-29 10:12:50
来源:|0
浏览
收藏
国家公务员报名、考试、查分时间 免费短信提醒
摘要 2013年北京朝阳区事业单位考试录用工作人员公示
课程推荐:2014年国家公务员考试基础课程 | 行测、申论单科专项辅导
热点课程:413联考面试一对一互动辅导 | 2014年事业单位考试直播公开课
各位考生:
现将朝阳区2013年上半年部分事业单位考试录用工作人员拟录用人员名单予以公示(详见附件)。如有意见,请于2013年6月3日(7天)前与朝阳区人力社保局联系。
公示无异议后,将由区人力社保局统一办理录用报批手续。经市人力社保局批准录用后,由招考单位通知本人办理档案审核及报到手续。
电子邮箱:cygwyk@163.com
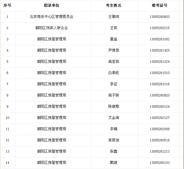
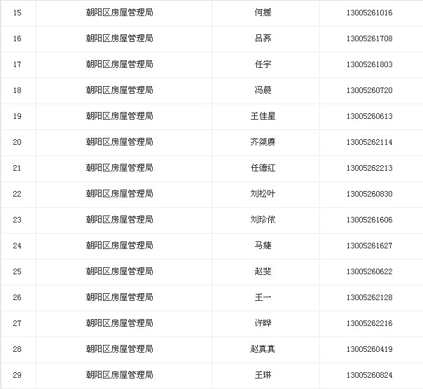
2013年朝阳区上半年部分事业单位考试录用工作人员拟录用人员名单:



朝阳区人力资源和社会保障局
二○一三年五月二十七日
编辑推荐:
编辑推荐
上一篇:2013年北京印刷学院招聘公告
最新资讯
- 2027国考报名入口即将开通!官方专题网站一键直达,附报名全流程详解与避坑指南2026-03-28
- 2027年国家公务员考试官网登录入口一键收藏!官方唯一报名通道、网址预测与全流程指南2026-03-27
- 2027年公务员考试:国考VS省考,究竟该如何选择?一文读懂优劣与报考策略2026-03-27
- 2027年国家公务员报名时间预测出炉!10月15日启动,附历年规律与备考规划2026-03-27
- 2027年国考报名时间预测出炉!10月15日启动,附历年时间规律与备考规划2026-03-27
- 2027年国家公务员考试报名条件要求全解析:年龄放宽?学历限制?一文看懂报考资格2026-03-27
- 2027国考只能应届生报名吗?权威解读:应届生与社会人员报考资格全解析2026-03-27
- 2027国考唯一官方通道!国家公务员网官网入口(国家公务员局专题网站)网址、功能与报考2026-03-26
- 2027国考专题网站(国家公务员局)官方入口、网址预测与报考全流程指南2026-03-26
- 2027国考唯一官方平台!国家公务员网官网首页(专题网站)网址、功能与报考全解析2026-03-26
