2013年工业和信息化部拟录人员公示
更新时间:2013-06-04 10:30:13
来源:|0
浏览
收藏
国家公务员报名、考试、查分时间 免费短信提醒
摘要 2013年工业和信息化部拟录人员公示
课程推荐:2014年国家公务员考试基础课程 | 行测、申论单科专项辅导
热点课程:413联考面试一对一互动辅导 | 2014年事业单位考试直播公开课
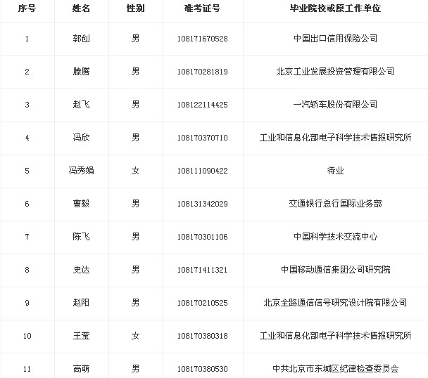
根据考试录用公务员的有关规定,经过笔试面试和体检考察等程序,经研究,拟录用郭创等32人为我部公务员,现将有关情况予以公示。公示期间如有异议,请向工业和信息化部人事教育司反映。
公示时间:2013年6月4日至6月10日
监督电话:(010)68205929
工业和信息化部2013年度拟录用公务员名单



温馨提示:请大家及时关注环球网校公务员频道相关考试信息,小编会第一时间为大家提供公务员考试最新信息。
编辑推荐:
编辑推荐
最新资讯
- 2026年贵州省考成绩查询入口已开通!查分后必看:深度解析“省考和国考分差”2026-04-10
- 国考和省考双线备战指南:2026湖南省考笔试成绩查询与排名解析,附面试逆袭攻略2026-04-09
- 2026国考笔试成绩公布!中华全国总工会面试确认今日(1月16日)17时截止2026-01-16
- 2026国考笔试成绩已经发布!速查分数线,面试名单已公布2026-01-16
- 教育部2026年国考笔试成绩入围考生材料审核通知发布!1月19日前面试确认截止2026-01-16
- 国考成绩查询2026入口,正式开通!面试名单与调剂攻略全解析2026-01-15
- 2026国考成绩查询入口官网正式开通!面试名单与调剂攻略全解析2026-01-15
- 快查分!2026国考成绩查询入口已开通,面试名单或将公布!2026-01-15
- 快查分!2026国考成绩查询需要什么信息?官网查分入口1月14日已开通,面试名单将公布2026-01-15
- 快查分,2026国考成绩查询时间已定!官网查分入口1月14日开通,面试名单将公布2026-01-15
