2013年湖南省人力资源和社会保障厅公务员资格审查公告
课程推荐:2014年公务员课程7天免费学 :基础精讲 高效强化 高效押题 专项特训
个性课程:2014年公务员个性辅导:申论批改 技巧专讲 冲刺密卷 个性定制
根据中共湖南省委组织部、省人力资源和社会保障厅、省公务员局《关于2013年省直机关公开遴选公务员的公告》,经报名、笔试,按报考职位笔试成绩排名和3:1的比例确定了参加报考我厅职位资格审查的人员,现将有关事项公告如下:
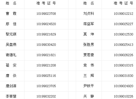
一、资格审核人员名单
文字综合职位:

财务管理岗位:

二、资格审查具体安排
1、时间:11月27日(8:30―12:00、14:30―17:00)。
2、地点:省人力资源和社会保障厅人事教育处(长沙市天心区青园路18号)行政楼212室。
3、所需资料:
准考证、身份证、学历证书原件和复印件;公务员登记表或参公管理单位工作人员登记表;所在单位组织人事部门审核盖章的《2013年省直机关公开遴选公务员报名表》(不得随意改变格式)及工作单位提供具有两年以上公务员岗位工作经历的证明材料(不含试用期,需盖单位公章)。
报考文字综合职位的,须提供单位出具的政策法规或文字综合岗位工作经历证明,以及本人起草有代表性的文稿5篇以上。
报财务管理职位的,须提供会计专业中级以上职称证书的原件及复印件。
三、其他事项
1、请参加资格审查的考生尽快与省人社厅联系确认。在规定时间内无故未参加资格审查的考生、因考生本人未留联系方式或所留联系方式无效导致无法取得联系的,视为自动放弃面试资格。
2、资格审查中发现不符合报考条件以及提供虚假资料的,取消面试资格。
3、考生主动放弃参加面试的,请及时与我处取得联系,并提供书面说明材料。
4、审查未通过、逾期未参加或考生主动放弃的,按该职位笔试成绩排名依次递补,由工作人员电话通知递补人员参加资格审查。
5、如有特殊情况本人不能在规定时间参加审查的,须向及时报告,待同意后方可安排其他时间进行审查。
联系电话:0731-84900013 84900054。
湖南省人力资源和社会保障厅
2013年11月25日
编辑推荐:
最新资讯
- 2026年贵州省考成绩查询入口已开通!查分后必看:深度解析“省考和国考分差”2026-04-10
- 国考和省考双线备战指南:2026湖南省考笔试成绩查询与排名解析,附面试逆袭攻略2026-04-09
- 2026国考笔试成绩公布!中华全国总工会面试确认今日(1月16日)17时截止2026-01-16
- 2026国考笔试成绩已经发布!速查分数线,面试名单已公布2026-01-16
- 教育部2026年国考笔试成绩入围考生材料审核通知发布!1月19日前面试确认截止2026-01-16
- 国考成绩查询2026入口,正式开通!面试名单与调剂攻略全解析2026-01-15
- 2026国考成绩查询入口官网正式开通!面试名单与调剂攻略全解析2026-01-15
- 快查分!2026国考成绩查询入口已开通,面试名单或将公布!2026-01-15
- 快查分!2026国考成绩查询需要什么信息?官网查分入口1月14日已开通,面试名单将公布2026-01-15
- 快查分,2026国考成绩查询时间已定!官网查分入口1月14日开通,面试名单将公布2026-01-15