2013年湖南省编办公务员面试公告
更新时间:2013-11-26 13:19:42
来源:|0
浏览
收藏
国家公务员报名、考试、查分时间 免费短信提醒
摘要 2013年湖南省编办公务员面试公告
课程推荐:2014年公务员课程7天免费学 :基础精讲 高效强化 高效押题 专项特训
个性课程:2014年公务员个性辅导:申论批改 技巧专讲 冲刺密卷 个性定制
根据中共湖南省委组织部、省人力资源和社会保障厅、省公务员局《2013年省直机关公开遴选公务员公告》要求,经报名、笔试、资格审查等程序,按报考职位笔试成绩排名和3:1的比例确定了面试人选。现将面试有关事项公告如下。
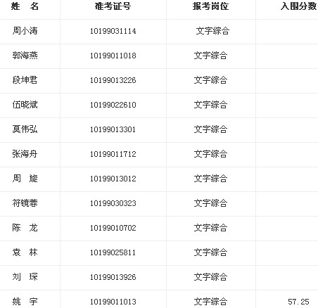
一、面试人员名单

二、面试时间与地点
1.面试时间:2013年11月29日(星期五)上午8:30。
2.面试地点:省委三办公楼六楼西边会议室(长沙市韶山北路1号省委大院)。
3.面试要求:面试人员须在当日上午8:00前赶到省编办报到。面试时需携带身份证、准考证。
咨询电话: 0731―82216523(省编办人事处)。
湖南省机构编制委员会办公室
2013年11月25日
编辑推荐:
编辑推荐
最新资讯
- 2026年贵州省考成绩查询入口已开通!查分后必看:深度解析“省考和国考分差”2026-04-10
- 国考和省考双线备战指南:2026湖南省考笔试成绩查询与排名解析,附面试逆袭攻略2026-04-09
- 2026国考笔试成绩公布!中华全国总工会面试确认今日(1月16日)17时截止2026-01-16
- 2026国考笔试成绩已经发布!速查分数线,面试名单已公布2026-01-16
- 教育部2026年国考笔试成绩入围考生材料审核通知发布!1月19日前面试确认截止2026-01-16
- 国考成绩查询2026入口,正式开通!面试名单与调剂攻略全解析2026-01-15
- 2026国考成绩查询入口官网正式开通!面试名单与调剂攻略全解析2026-01-15
- 快查分!2026国考成绩查询入口已开通,面试名单或将公布!2026-01-15
- 快查分!2026国考成绩查询需要什么信息?官网查分入口1月14日已开通,面试名单将公布2026-01-15
- 快查分,2026国考成绩查询时间已定!官网查分入口1月14日开通,面试名单将公布2026-01-15