2014年中国作家协会拟录用公务员公示
更新时间:2014-04-14 09:28:45
来源:|0
浏览
收藏
国家公务员报名、考试、查分时间 免费短信提醒
摘要 2014年中国作家协会拟录用公务员公示,公示时间:2014年4月11日至4月17日。
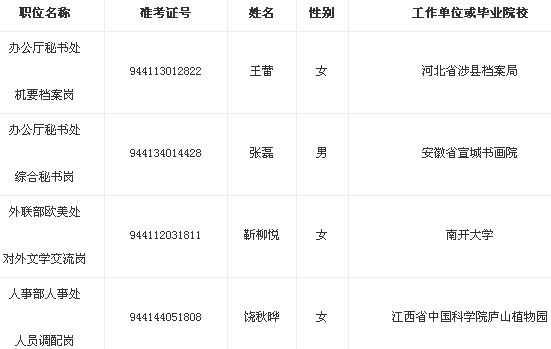
根据《中央机关及直属机构2014年考试录用公务员工作实施方案》的要求,经公共科目笔试、面试、体检、考察等程序,经研究,拟录用王蕾等4名同志(具体情况见下表)为我会机关工作人员,现将有关情况予以公示。公示期间,如有问题,请向中国作家协会人事部反映。
公示时间:2014年4月11日至4月17日
监督电话:010--64221705

中国作家协会人事部
2014年4月11日
复习备考: 公务员考试真题下载 公务员考试复习资料 公务员面试备考
编辑推荐:
编辑推荐
最新资讯
- 2026年贵州省考成绩查询入口已开通!查分后必看:深度解析“省考和国考分差”2026-04-10
- 国考和省考双线备战指南:2026湖南省考笔试成绩查询与排名解析,附面试逆袭攻略2026-04-09
- 2026国考笔试成绩公布!中华全国总工会面试确认今日(1月16日)17时截止2026-01-16
- 2026国考笔试成绩已经发布!速查分数线,面试名单已公布2026-01-16
- 教育部2026年国考笔试成绩入围考生材料审核通知发布!1月19日前面试确认截止2026-01-16
- 国考成绩查询2026入口,正式开通!面试名单与调剂攻略全解析2026-01-15
- 2026国考成绩查询入口官网正式开通!面试名单与调剂攻略全解析2026-01-15
- 快查分!2026国考成绩查询入口已开通,面试名单或将公布!2026-01-15
- 快查分!2026国考成绩查询需要什么信息?官网查分入口1月14日已开通,面试名单将公布2026-01-15
- 快查分,2026国考成绩查询时间已定!官网查分入口1月14日开通,面试名单将公布2026-01-15