2014年民航西藏自治区管理局拟录用公务员公示
更新时间:2014-04-14 09:41:01
来源:|0
浏览
收藏
国家公务员报名、考试、查分时间 免费短信提醒
摘要 2014年民航西藏自治区管理局拟录用公务员公示,环球网校祝大家考试成功!
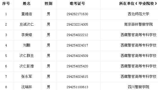
根据中组部、人力资源和社会保障部、国家公务员局关于2014年度考试录用公务员工作有关规定,经过笔试、面试、体检和考察等程序,现将8名拟录用人员予以公示。公示期间,如对人选有异议,请向民航西藏自治区管理局劳动人事处反映。
公示时间:自公告发布之日起7日
监督电话:0891-6216108
民航西藏自治区管理局拟录用人员名单

民航西藏自治区管理局
2014年4月11日
复习备考: 公务员考试真题下载 公务员考试复习资料 公务员面试备考
编辑推荐:
编辑推荐
最新资讯
- 2026国考笔试成绩公布!中华全国总工会面试确认今日(1月16日)17时截止2026-01-16
- 2026国考笔试成绩已经发布!速查分数线,面试名单已公布2026-01-16
- 教育部2026年国考笔试成绩入围考生材料审核通知发布!1月19日前面试确认截止2026-01-16
- 国考成绩查询2026入口,正式开通!面试名单与调剂攻略全解析2026-01-15
- 2026国考成绩查询入口官网正式开通!面试名单与调剂攻略全解析2026-01-15
- 快查分!2026国考成绩查询入口已开通,面试名单或将公布!2026-01-15
- 快查分!2026国考成绩查询需要什么信息?官网查分入口1月14日已开通,面试名单将公布2026-01-15
- 快查分,2026国考成绩查询时间已定!官网查分入口1月14日开通,面试名单将公布2026-01-15
- 2026年国考成绩查询时间已定!官网查分入口正式开通,面试名单将公布2026-01-15
- 国考成绩查询2026,官网查分入口已开通!面试名单已公布2026-01-15